Крупнейшая бесплатная информационно-справочная система онлайн доступа к полному собранию технических нормативно-правовых актов РФ. Огромная база технических нормативов (более 150 тысяч документов) и полное собрание национальных стандартов, аутентичное официальной базе Госстандарта. GOSTRF.com - это более 1 Терабайта бесплатной технической информации для всех пользователей интернета. Все электронные копии представленных здесь документов могут распространяться без каких-либо ограничений. Поощряется распространение информации с этого сайта на любых других ресурсах. Каждый человек имеет право на неограниченный доступ к этим документам! Каждый человек имеет право на знание требований, изложенных в данных нормативно-правовых актах!

  


 

ГОСТ 14950-75

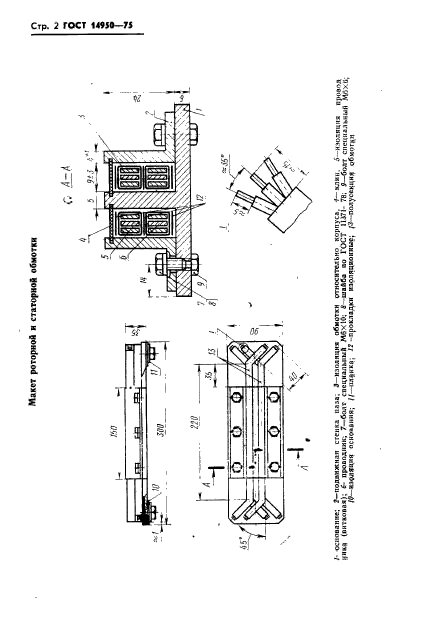
Конструкция изоляции электрических машин с предварительно изолированными шаблонными секциями обмотки. Метод определения нагревостойкости

Обозначение:ГОСТ 14950-75
Текущий статус документа: действующий
Название документа рус.:Конструкция изоляции электрических машин с предварительно изолированными шаблонными секциями обмотки. Метод определения нагревостойкости
Название документа англ.:Insulation construction of electrical machinery with previously insulated preformed winding sections. Test method for determination of thermal enolurance
Дата актуализации текста:01.12.2013
Дата издания:01.07.1982
Дата введения:01.01.1977
Дата последнего изменения:22.05.2013
Переиздание:переиздание с изм. 1
Область применения:Настоящий стандарт устанавливает метод ускоренного определения на макетах нагревостойкости конструкций изоляции (комплексов электроизоляционных материалов) обмоток с предварительно изолированными шаблонными секциями статоров и роторов электрических машин постоянного и переменного (50 Гц) тока, работающих в нормальных для данного вида электрических машин условиях эксплуатации в воздушной среде при напряжении до 1500 В включительно.
Стандарт не устанавливает метод определения нагревостойкости конструкции изоляции из неорганических электроизоляционных материалов, не содержащих органических или элементоорганических компонентов, а также на конструкции изоляции электрических машин, работающих в атмосфере агрессивных или инертных газов или в вакууме, погруженных в жидкость, подвергающихся систематическому воздействию агрессивных химических агентов и пыли (металлической, цементной и т.д.) и специальных электрических машин
Список изменений:№1 от 01.05.1982 (рег. 08.12.1981) «Срок действия продлен»
№2 от 01.01.1987 (рег. 16.06.1986) «Срок действия продлен»
ГОСТ 14950-75ГОСТ 14950-75ГОСТ 14950-75ГОСТ 14950-75ГОСТ 14950-75ГОСТ 14950-75ГОСТ 14950-75ГОСТ 14950-75ГОСТ 14950-75ГОСТ 14950-75ГОСТ 14950-75ГОСТ 14950-75ГОСТ 14950-75ГОСТ 14950-75ГОСТ 14950-75ГОСТ 14950-75ГОСТ 14950-75ГОСТ 14950-75ГОСТ 14950-75
 




ГОСТЫ, СТРОИТЕЛЬНЫЕ и ТЕХНИЧЕСКИЕ НОРМАТИВЫ.
Некоммерческая онлайн система, содержащая все Российские Госты, национальные Стандарты и нормативы.
В Системе содержится более 150000 файлов нормативно-технической документации, действующей на территории РФ.
Система предназначена для широкого круга инженерно-технических специалистов.

Рейтинг@Mail.ru Яндекс цитирования

Copyright © www.gostrf.com, 2008 - 2026