Крупнейшая бесплатная информационно-справочная система онлайн доступа к полному собранию технических нормативно-правовых актов РФ. Огромная база технических нормативов (более 150 тысяч документов) и полное собрание национальных стандартов, аутентичное официальной базе Госстандарта. GOSTRF.com - это более 1 Терабайта бесплатной технической информации для всех пользователей интернета. Все электронные копии представленных здесь документов могут распространяться без каких-либо ограничений. Поощряется распространение информации с этого сайта на любых других ресурсах. Каждый человек имеет право на неограниченный доступ к этим документам! Каждый человек имеет право на знание требований, изложенных в данных нормативно-правовых актах!

  


 

ГОСТ 20537-75

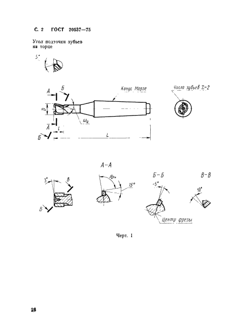
Фрезы концевые диаметром от 12,5 до 50 мм с коническим хвостовиком, оснащенные винтовыми твердосплавными пластинами . Конструкция и размеры

Обозначение:ГОСТ 20537-75
Текущий статус документа: действующий
Название документа рус.:Фрезы концевые диаметром от 12,5 до 50 мм с коническим хвостовиком, оснащенные винтовыми твердосплавными пластинами . Конструкция и размеры
Название документа англ.:Taper shank end mills of 12,5-50 mm diameter with spiral carbide blades. Construction and dimensions
Дата актуализации текста:01.12.2013
Дата издания:01.01.1995
Дата введения:01.01.1977
Дата последнего изменения:22.05.2013
Переиздание:переиздание с изм. 1
Взамен:МН 4164-62
Взамен в части: в части типа 2 исполнения 1
Область применения:Настоящий стандарт распространяется на концевые фрезы, оснащенные винтовыми твердосплавными пластинами, предназначенные для обработки стали, чугуна и бронзы, а также труднообрабатываемых сталей и сплавов
Список изменений:№1 от 01.03.1980 (рег. 28.01.1980) «Срок действия продлен»
№2 от 01.05.1987 (рег. 20.12.1986) «Срок действия продлен»
ГОСТ 20537-75ГОСТ 20537-75ГОСТ 20537-75ГОСТ 20537-75ГОСТ 20537-75ГОСТ 20537-75ГОСТ 20537-75
 




ГОСТЫ, СТРОИТЕЛЬНЫЕ и ТЕХНИЧЕСКИЕ НОРМАТИВЫ.
Некоммерческая онлайн система, содержащая все Российские Госты, национальные Стандарты и нормативы.
В Системе содержится более 150000 файлов нормативно-технической документации, действующей на территории РФ.
Система предназначена для широкого круга инженерно-технических специалистов.

Рейтинг@Mail.ru Яндекс цитирования

Copyright © www.gostrf.com, 2008 - 2026