Крупнейшая бесплатная информационно-справочная система онлайн доступа к полному собранию технических нормативно-правовых актов РФ. Огромная база технических нормативов (более 150 тысяч документов) и полное собрание национальных стандартов, аутентичное официальной базе Госстандарта. GOSTRF.com - это более 1 Терабайта бесплатной технической информации для всех пользователей интернета. Все электронные копии представленных здесь документов могут распространяться без каких-либо ограничений. Поощряется распространение информации с этого сайта на любых других ресурсах. Каждый человек имеет право на неограниченный доступ к этим документам! Каждый человек имеет право на знание требований, изложенных в данных нормативно-правовых актах!

  


 

ГОСТ 19777-74

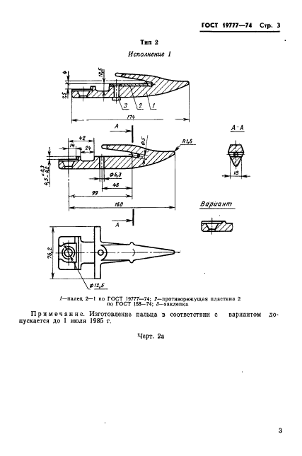
Пальцы режущих аппаратов сельскохозяйственных машин. Технические условия

Обозначение:ГОСТ 19777-74
Текущий статус документа: действующий
Название документа рус.:Пальцы режущих аппаратов сельскохозяйственных машин. Технические условия
Название документа англ.:Fingers for cutter bars of agricultural machines. Specification
Дата актуализации текста:01.12.2013
Дата издания:01.08.1985
Дата введения:01.01.1975
Дата последнего изменения:22.05.2013
Переиздание:переиздание с изм. 1
Область применения:Настоящий стандарт распространяется на пальцы режущих аппаратов сельскохозяйственных машин. Стандарт не распространяется на пальцы для малогабаритной техники
Список изменений:№1 от 01.01.1981 (рег. 06.11.1980) «Срок действия продлен»
№2 от 01.07.1982 (рег. 23.03.1982) «Срок действия продлен»
№3 от 01.11.1984 (рег. 04.06.1984) «Срок действия продлен»
№4 от 01.10.1986 (рег. 01.12.1986) «Срок действия продлен»
№5 от 01.01.1989 (рег. 17.06.1988) «Срок действия продлен»
ГОСТ 19777-74ГОСТ 19777-74ГОСТ 19777-74ГОСТ 19777-74ГОСТ 19777-74ГОСТ 19777-74ГОСТ 19777-74ГОСТ 19777-74ГОСТ 19777-74ГОСТ 19777-74ГОСТ 19777-74ГОСТ 19777-74ГОСТ 19777-74ГОСТ 19777-74ГОСТ 19777-74ГОСТ 19777-74ГОСТ 19777-74ГОСТ 19777-74ГОСТ 19777-74
 




ГОСТЫ, СТРОИТЕЛЬНЫЕ и ТЕХНИЧЕСКИЕ НОРМАТИВЫ.
Некоммерческая онлайн система, содержащая все Российские Госты, национальные Стандарты и нормативы.
В Системе содержится более 150000 файлов нормативно-технической документации, действующей на территории РФ.
Система предназначена для широкого круга инженерно-технических специалистов.

Рейтинг@Mail.ru Яндекс цитирования

Copyright © www.gostrf.com, 2008 - 2026