Крупнейшая бесплатная информационно-справочная система онлайн доступа к полному собранию технических нормативно-правовых актов РФ. Огромная база технических нормативов (более 150 тысяч документов) и полное собрание национальных стандартов, аутентичное официальной базе Госстандарта. GOSTRF.com - это более 1 Терабайта бесплатной технической информации для всех пользователей интернета. Все электронные копии представленных здесь документов могут распространяться без каких-либо ограничений. Поощряется распространение информации с этого сайта на любых других ресурсах. Каждый человек имеет право на неограниченный доступ к этим документам! Каждый человек имеет право на знание требований, изложенных в данных нормативно-правовых актах!

  


 

ГОСТ 19616-74

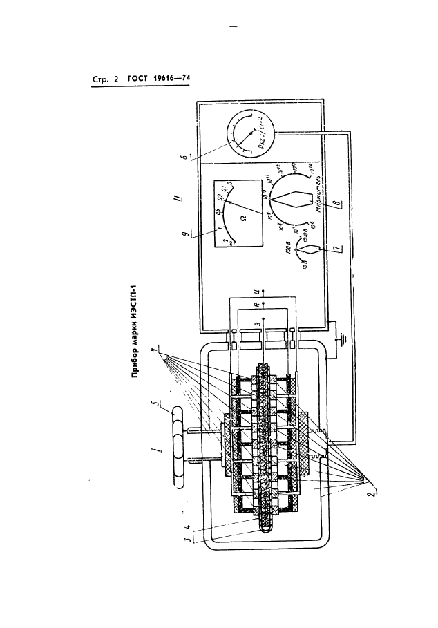
Ткани и трикотажные полотна. Метод определения удельного поверхностного электрического сопротивления

Обозначение:ГОСТ 19616-74
Текущий статус документа: действующий
Название документа рус.:Ткани и трикотажные полотна. Метод определения удельного поверхностного электрического сопротивления
Название документа англ.:Weaving and knitted fabrics. A method for evaluating the specific surface resistance
Дата актуализации текста:01.12.2013
Дата издания:30.05.1974
Дата введения:01.01.1976
Дата последнего изменения:22.05.2013
Область применения:Настоящий стандарт распространяется на ткани чистошерстяные, шерстяные, полушерстяные, шелковые и полушелковые, трикотажные полотна, вырабатываемые из химических и натуральных нитей и пряжи и их сочетаний, и мех искусственный трикотажный и устанавливает метод определения удельного поверхностного электрического сопротивления, характеризующего способность материала к рассеянию электростатических зарядов
Список изменений:№1 от 01.01.1981 (рег. 17.09.1980) «Срок действия продлен»
№2 от 01.01.1983 (рег. 30.08.1982) «Срок действия продлен»
№3 от 01.04.1991 (рег. 26.11.1990) «Срок действия продлен»
№4 от 01.03.2005 (рег. 11.11.2004) «Текстовое изменение; Изменены ссылочные НД»
Приложение №1:Изменение №4 к ГОСТ 19616-74
ГОСТ 19616-74ГОСТ 19616-74ГОСТ 19616-74ГОСТ 19616-74ГОСТ 19616-74ГОСТ 19616-74ГОСТ 19616-74ГОСТ 19616-74ГОСТ 19616-74ГОСТ 19616-74

Изменение №4 к ГОСТ 19616-74

Обозначение:Изменение №4 к ГОСТ 19616-74
Дата введения:01.03.2005


Изменение №4 к ГОСТ 19616-74
 




ГОСТЫ, СТРОИТЕЛЬНЫЕ и ТЕХНИЧЕСКИЕ НОРМАТИВЫ.
Некоммерческая онлайн система, содержащая все Российские Госты, национальные Стандарты и нормативы.
В Системе содержится более 150000 файлов нормативно-технической документации, действующей на территории РФ.
Система предназначена для широкого круга инженерно-технических специалистов.

Рейтинг@Mail.ru Яндекс цитирования

Copyright © www.gostrf.com, 2008 - 2026