Крупнейшая бесплатная информационно-справочная система онлайн доступа к полному собранию технических нормативно-правовых актов РФ. Огромная база технических нормативов (более 150 тысяч документов) и полное собрание национальных стандартов, аутентичное официальной базе Госстандарта. GOSTRF.com - это более 1 Терабайта бесплатной технической информации для всех пользователей интернета. Все электронные копии представленных здесь документов могут распространяться без каких-либо ограничений. Поощряется распространение информации с этого сайта на любых других ресурсах. Каждый человек имеет право на неограниченный доступ к этим документам! Каждый человек имеет право на знание требований, изложенных в данных нормативно-правовых актах!

  


 

ГОСТ 8002-74

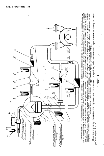
Двигатели внутреннего сгорания поршневые. Воздухоочистители. Методы стендовых безмоторных испытаний

Обозначение:ГОСТ 8002-74
Текущий статус документа: действующий
Название документа рус.:Двигатели внутреннего сгорания поршневые. Воздухоочистители. Методы стендовых безмоторных испытаний
Название документа англ.:Internal combustion engines. Air cleaners. Methods of motorless bench testing
Дата актуализации текста:01.12.2013
Дата издания:01.05.1984
Дата введения:01.01.1975
Дата последнего изменения:22.05.2013
Переиздание:переиздание с изм. 1
Область применения:Настоящий стандарт распространяется на воздухоочистители поршневых двигателей внутреннего сгорания и устанавливает методы приемочных и периодических контрольных стендовых безмоторных испытаний воздухоочистителей
Список изменений:№1 от 01.03.1984 (рег. 21.11.1983) «Срок действия продлен»
№2 от 01.10.1987 (рег. 11.05.1987) «Срок действия продлен»
ГОСТ 8002-74ГОСТ 8002-74ГОСТ 8002-74ГОСТ 8002-74ГОСТ 8002-74ГОСТ 8002-74ГОСТ 8002-74ГОСТ 8002-74ГОСТ 8002-74ГОСТ 8002-74ГОСТ 8002-74ГОСТ 8002-74ГОСТ 8002-74ГОСТ 8002-74ГОСТ 8002-74ГОСТ 8002-74ГОСТ 8002-74ГОСТ 8002-74ГОСТ 8002-74ГОСТ 8002-74ГОСТ 8002-74ГОСТ 8002-74ГОСТ 8002-74ГОСТ 8002-74ГОСТ 8002-74ГОСТ 8002-74ГОСТ 8002-74ГОСТ 8002-74ГОСТ 8002-74ГОСТ 8002-74ГОСТ 8002-74ГОСТ 8002-74
 




ГОСТЫ, СТРОИТЕЛЬНЫЕ и ТЕХНИЧЕСКИЕ НОРМАТИВЫ.
Некоммерческая онлайн система, содержащая все Российские Госты, национальные Стандарты и нормативы.
В Системе содержится более 150000 файлов нормативно-технической документации, действующей на территории РФ.
Система предназначена для широкого круга инженерно-технических специалистов.

Рейтинг@Mail.ru Яндекс цитирования

Copyright © www.gostrf.com, 2008 - 2026