Крупнейшая бесплатная информационно-справочная система онлайн доступа к полному собранию технических нормативно-правовых актов РФ. Огромная база технических нормативов (более 150 тысяч документов) и полное собрание национальных стандартов, аутентичное официальной базе Госстандарта. GOSTRF.com - это более 1 Терабайта бесплатной технической информации для всех пользователей интернета. Все электронные копии представленных здесь документов могут распространяться без каких-либо ограничений. Поощряется распространение информации с этого сайта на любых других ресурсах. Каждый человек имеет право на неограниченный доступ к этим документам! Каждый человек имеет право на знание требований, изложенных в данных нормативно-правовых актах!

  


 

ГОСТ 11790-74

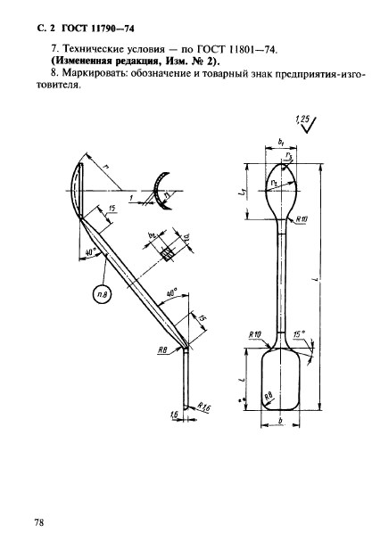
Ложечки с гладилками отделочные. Конструкция

Обозначение:ГОСТ 11790-74
Текущий статус документа: действующий
Название документа рус.:Ложечки с гладилками отделочные. Конструкция
Название документа англ.:Finishing scoops with trowels. Design
Дата актуализации текста:01.12.2013
Дата издания:01.01.1997
Дата введения:30.06.1975
Дата последнего изменения:22.05.2013
Переиздание:переиздание с изм. 1
Область применения:Настоящий стандарт распространяется на отделочные ложечки с гладилками, применяемые для отделки песчаных литейных форм и стержней
Список изменений:№1 от 01.02.1981 (рег. 14.08.1980) «Срок действия продлен»
№2 от 01.01.1986 (рег. 20.06.1985) «Срок действия продлен»
№3 от 01.01.1993 (рег. 12.05.1992) «Поправка»
ГОСТ 11790-74ГОСТ 11790-74ГОСТ 11790-74
 




ГОСТЫ, СТРОИТЕЛЬНЫЕ и ТЕХНИЧЕСКИЕ НОРМАТИВЫ.
Некоммерческая онлайн система, содержащая все Российские Госты, национальные Стандарты и нормативы.
В Системе содержится более 150000 файлов нормативно-технической документации, действующей на территории РФ.
Система предназначена для широкого круга инженерно-технических специалистов.

Рейтинг@Mail.ru Яндекс цитирования

Copyright © www.gostrf.com, 2008 - 2026