Крупнейшая бесплатная информационно-справочная система онлайн доступа к полному собранию технических нормативно-правовых актов РФ. Огромная база технических нормативов (более 150 тысяч документов) и полное собрание национальных стандартов, аутентичное официальной базе Госстандарта. GOSTRF.com - это более 1 Терабайта бесплатной технической информации для всех пользователей интернета. Все электронные копии представленных здесь документов могут распространяться без каких-либо ограничений. Поощряется распространение информации с этого сайта на любых других ресурсах. Каждый человек имеет право на неограниченный доступ к этим документам! Каждый человек имеет право на знание требований, изложенных в данных нормативно-правовых актах!

  


 

ГОСТ 7511-73

Профили стальные для оконных и фонарных переплетов и оконных панелей промышленных зданий. Технические условия

Обозначение:ГОСТ 7511-73
Текущий статус документа: действующий
Название документа рус.:Профили стальные для оконных и фонарных переплетов и оконных панелей промышленных зданий. Технические условия
Название документа англ.:Steel sections for window and lantern transoms and window panels of industrial buildings. Specifications
Дата актуализации текста:01.12.2013
Дата издания:01.03.2003
Дата введения:01.01.1975
Дата последнего изменения:22.05.2013
Переиздание:переиздание с изм. 1
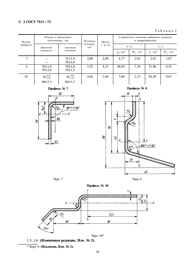
Область применения:Настоящий стандарт распространяется на горячекатаные и гнутые профили, предназначенные для изготовления оконных и фонарных переплетов и оконных панелей промышленных зданий
Список изменений:№1 от 01.01.1985 (рег. 31.07.1984) «Срок действия продлен»
№2 от 01.01.1990 (рег. 28.03.1989) «Срок действия продлен»
№3 от 01.04.1991 (рег. 16.10.1990) «Срок действия продлен»
ГОСТ 7511-73ГОСТ 7511-73ГОСТ 7511-73ГОСТ 7511-73ГОСТ 7511-73
 




ГОСТЫ, СТРОИТЕЛЬНЫЕ и ТЕХНИЧЕСКИЕ НОРМАТИВЫ.
Некоммерческая онлайн система, содержащая все Российские Госты, национальные Стандарты и нормативы.
В Системе содержится более 150000 файлов нормативно-технической документации, действующей на территории РФ.
Система предназначена для широкого круга инженерно-технических специалистов.

Рейтинг@Mail.ru Яндекс цитирования

Copyright © www.gostrf.com, 2008 - 2026