Крупнейшая бесплатная информационно-справочная система онлайн доступа к полному собранию технических нормативно-правовых актов РФ. Огромная база технических нормативов (более 150 тысяч документов) и полное собрание национальных стандартов, аутентичное официальной базе Госстандарта. GOSTRF.com - это более 1 Терабайта бесплатной технической информации для всех пользователей интернета. Все электронные копии представленных здесь документов могут распространяться без каких-либо ограничений. Поощряется распространение информации с этого сайта на любых других ресурсах. Каждый человек имеет право на неограниченный доступ к этим документам! Каждый человек имеет право на знание требований, изложенных в данных нормативно-правовых актах!

  


 

ГОСТ 5.2105-73

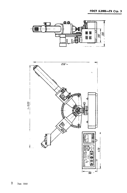
Микроскоп лазерный эллипсометрический ЛЭМ-2. Требования к качеству аттестованной продукции

Обозначение:ГОСТ 5.2105-73
Текущий статус документа: действующий
Название документа рус.:Микроскоп лазерный эллипсометрический ЛЭМ-2. Требования к качеству аттестованной продукции
Название документа англ.:Laser ellipsometric microscope ЛЭМ-2. Quality requirements of sertified products
Дата актуализации текста:01.12.2013
Дата издания:04.10.1973
Дата введения:31.08.1973
Дата последнего изменения:22.05.2013
Область применения:Настоящий стандарт распространяется на лазерный эллипсометрический микроскоп ЛЭМ-2, предназначенный для определения эллипсометрических параметров поляризованного света, определяемых по углам поворота оптических элементов в момент погасания, что позволяет использовать прибор для измерения толщины и показателя преломления прозрачных диэлектрических покрытий на отражающих полированных поверхностях различных материалов и, в частности, на полупроводниковых пластинах, а также для контроля равномерности и однородности диэлектрических пленок по площади и определения наличия и толщины окисла в окнах, вытравленных в процессе изготовления полупроводниковых приборов
ГОСТ 5.2105-73ГОСТ 5.2105-73ГОСТ 5.2105-73ГОСТ 5.2105-73ГОСТ 5.2105-73ГОСТ 5.2105-73ГОСТ 5.2105-73ГОСТ 5.2105-73ГОСТ 5.2105-73ГОСТ 5.2105-73ГОСТ 5.2105-73ГОСТ 5.2105-73ГОСТ 5.2105-73
 




ГОСТЫ, СТРОИТЕЛЬНЫЕ и ТЕХНИЧЕСКИЕ НОРМАТИВЫ.
Некоммерческая онлайн система, содержащая все Российские Госты, национальные Стандарты и нормативы.
В Системе содержится более 150000 файлов нормативно-технической документации, действующей на территории РФ.
Система предназначена для широкого круга инженерно-технических специалистов.

Рейтинг@Mail.ru Яндекс цитирования

Copyright © www.gostrf.com, 2008 - 2026