Крупнейшая бесплатная информационно-справочная система онлайн доступа к полному собранию технических нормативно-правовых актов РФ. Огромная база технических нормативов (более 150 тысяч документов) и полное собрание национальных стандартов, аутентичное официальной базе Госстандарта. GOSTRF.com - это более 1 Терабайта бесплатной технической информации для всех пользователей интернета. Все электронные копии представленных здесь документов могут распространяться без каких-либо ограничений. Поощряется распространение информации с этого сайта на любых других ресурсах. Каждый человек имеет право на неограниченный доступ к этим документам! Каждый человек имеет право на знание требований, изложенных в данных нормативно-правовых актах!

  


 

ГОСТ 9229-72

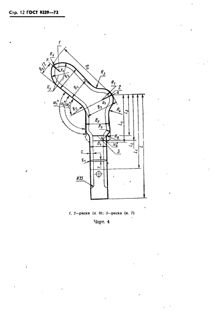
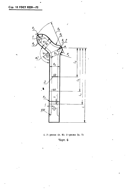
Формы отделочные для чулочно-носочных изделий. Размеры

Обозначение:ГОСТ 9229-72
Текущий статус документа: действующий
Название документа рус.:Формы отделочные для чулочно-носочных изделий. Размеры
Название документа англ.:Finishing forms for socks and stockings. Dimensions
Дата актуализации текста:01.12.2013
Дата издания:01.02.1984
Дата введения:30.06.1974
Дата последнего изменения:22.05.2013
Переиздание:переиздание с изм. 1
Область применения:Настоящий стандарт распространяется на формы для машинной отделки чулочно-носочных изделий, вырабатываемых на круглочулочных автоматах и котонных машинах из различных видов натурального, искусственного и синтетического сырья и их различных сочетаний, кроме форм для отделки чулочно-носочных изделий, вырабатываемых на круглочулочных автоматах из капроновой нити эластик
Список изменений:№0 от 08.12.1988 (рег. 08.12.1988) «Срок действия продлен»
№1 от 01.07.1974 (рег. 24.05.1974) «Срок действия продлен»
№2 от 01.04.1984 (рег. 14.11.1983) «Срок действия продлен»
ГОСТ 9229-72ГОСТ 9229-72ГОСТ 9229-72ГОСТ 9229-72ГОСТ 9229-72ГОСТ 9229-72ГОСТ 9229-72ГОСТ 9229-72ГОСТ 9229-72ГОСТ 9229-72ГОСТ 9229-72ГОСТ 9229-72ГОСТ 9229-72ГОСТ 9229-72ГОСТ 9229-72ГОСТ 9229-72ГОСТ 9229-72ГОСТ 9229-72ГОСТ 9229-72ГОСТ 9229-72ГОСТ 9229-72ГОСТ 9229-72
 




ГОСТЫ, СТРОИТЕЛЬНЫЕ и ТЕХНИЧЕСКИЕ НОРМАТИВЫ.
Некоммерческая онлайн система, содержащая все Российские Госты, национальные Стандарты и нормативы.
В Системе содержится более 150000 файлов нормативно-технической документации, действующей на территории РФ.
Система предназначена для широкого круга инженерно-технических специалистов.

Рейтинг@Mail.ru Яндекс цитирования

Copyright © www.gostrf.com, 2008 - 2026