Крупнейшая бесплатная информационно-справочная система онлайн доступа к полному собранию технических нормативно-правовых актов РФ. Огромная база технических нормативов (более 150 тысяч документов) и полное собрание национальных стандартов, аутентичное официальной базе Госстандарта. GOSTRF.com - это более 1 Терабайта бесплатной технической информации для всех пользователей интернета. Все электронные копии представленных здесь документов могут распространяться без каких-либо ограничений. Поощряется распространение информации с этого сайта на любых других ресурсах. Каждый человек имеет право на неограниченный доступ к этим документам! Каждый человек имеет право на знание требований, изложенных в данных нормативно-правовых актах!

  


 

ГОСТ 17581-72

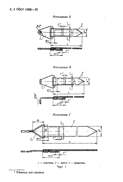
Знаки сигнальные механические флажкового типа средств предупреждения. Конструкция, размеры и технические требования

Обозначение:ГОСТ 17581-72
Текущий статус документа: действующий
Название документа рус.:Знаки сигнальные механические флажкового типа средств предупреждения. Конструкция, размеры и технические требования
Название документа англ.:Mechanical signal flags of warning means. Design, dimensions and technical requirements
Дата актуализации текста:01.12.2013
Дата издания:01.06.1992
Дата введения:30.06.1973
Дата последнего изменения:22.05.2013
Переиздание:переиздание с изм. 1
Область применения:Настоящий стандарт распространяется на сигнальные механические знаки флажкового типа, устанавливаемые на фиксирующих элементах, предохраняющих механизмы от самопроизвольного срабатывания в период монтажа и подготовки изделий к эксплуатации, и являющиеся средством, сигнализирующим о незаконченности подготовки изделий к выполнению заданных функций.
Стандарт устанавливает конструкцию, размеры и технические требования к флажкам, предназначенным для учета и контроля снятия специальных принадлежностей и технологических элементов
Список изменений:№1 от 01.01.1980 (рег. 26.11.1979) «Срок действия продлен»
№2 от 01.09.1984 (рег. 15.03.1984) «Срок действия продлен»
№3 от 01.07.1988 (рег. 24.12.1987) «Срок действия продлен»
ГОСТ 17581-72ГОСТ 17581-72ГОСТ 17581-72ГОСТ 17581-72ГОСТ 17581-72ГОСТ 17581-72ГОСТ 17581-72ГОСТ 17581-72ГОСТ 17581-72ГОСТ 17581-72ГОСТ 17581-72ГОСТ 17581-72
 




ГОСТЫ, СТРОИТЕЛЬНЫЕ и ТЕХНИЧЕСКИЕ НОРМАТИВЫ.
Некоммерческая онлайн система, содержащая все Российские Госты, национальные Стандарты и нормативы.
В Системе содержится более 150000 файлов нормативно-технической документации, действующей на территории РФ.
Система предназначена для широкого круга инженерно-технических специалистов.

Рейтинг@Mail.ru Яндекс цитирования

Copyright © www.gostrf.com, 2008 - 2026