Крупнейшая бесплатная информационно-справочная система онлайн доступа к полному собранию технических нормативно-правовых актов РФ. Огромная база технических нормативов (более 150 тысяч документов) и полное собрание национальных стандартов, аутентичное официальной базе Госстандарта. GOSTRF.com - это более 1 Терабайта бесплатной технической информации для всех пользователей интернета. Все электронные копии представленных здесь документов могут распространяться без каких-либо ограничений. Поощряется распространение информации с этого сайта на любых других ресурсах. Каждый человек имеет право на неограниченный доступ к этим документам! Каждый человек имеет право на знание требований, изложенных в данных нормативно-правовых актах!

  


 

ГОСТ 8106-70

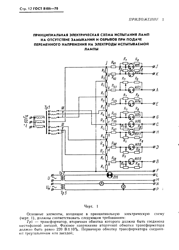
Лампы электронные маломощные. Методы испытаний на внутриламповые замыкания и обрывы

Обозначение:ГОСТ 8106-70
Текущий статус документа: действующий
Название документа рус.:Лампы электронные маломощные. Методы испытаний на внутриламповые замыкания и обрывы
Название документа англ.:Low-power vacuum valves. Methods of internal shorts and breaks tests
Дата актуализации текста:01.12.2013
Дата издания:01.04.1984
Дата введения:01.01.1971
Дата последнего изменения:22.05.2013
Переиздание:переиздание с изм. 2
Область применения:Настоящий стандарт распространяется на лампы электронные мощностью рассеиваемой анодом, до 25 Вт и устанавливает: метод механического возбуждения; метод индикации при постоянных напряжения на электродах испытываемой лампы с запоминающими индикаторами; метод индикации при переменных напряжениях на электродах испытываемой лампы
Список изменений:№2 от 01.08.1977 (рег. 30.03.1977) «Срок действия продлен»
№3 от 01.04.1979 (рег. 01.11.1978) «Срок действия продлен»
№4 от 01.02.1984 (рег. 27.10.1983) «Срок действия продлен»
ГОСТ 8106-70ГОСТ 8106-70ГОСТ 8106-70ГОСТ 8106-70ГОСТ 8106-70ГОСТ 8106-70ГОСТ 8106-70ГОСТ 8106-70ГОСТ 8106-70ГОСТ 8106-70ГОСТ 8106-70ГОСТ 8106-70ГОСТ 8106-70ГОСТ 8106-70ГОСТ 8106-70ГОСТ 8106-70ГОСТ 8106-70
 




ГОСТЫ, СТРОИТЕЛЬНЫЕ и ТЕХНИЧЕСКИЕ НОРМАТИВЫ.
Некоммерческая онлайн система, содержащая все Российские Госты, национальные Стандарты и нормативы.
В Системе содержится более 150000 файлов нормативно-технической документации, действующей на территории РФ.
Система предназначена для широкого круга инженерно-технических специалистов.

Рейтинг@Mail.ru Яндекс цитирования

Copyright © www.gostrf.com, 2008 - 2026