Крупнейшая бесплатная информационно-справочная система онлайн доступа к полному собранию технических нормативно-правовых актов РФ. Огромная база технических нормативов (более 150 тысяч документов) и полное собрание национальных стандартов, аутентичное официальной базе Госстандарта. GOSTRF.com - это более 1 Терабайта бесплатной технической информации для всех пользователей интернета. Все электронные копии представленных здесь документов могут распространяться без каких-либо ограничений. Поощряется распространение информации с этого сайта на любых других ресурсах. Каждый человек имеет право на неограниченный доступ к этим документам! Каждый человек имеет право на знание требований, изложенных в данных нормативно-правовых актах!

  


 

ГОСТ 4609-49

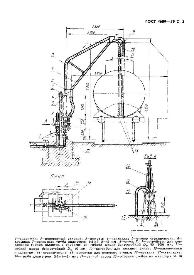
Оборудование сливо-наливное для горючих и легковоспламеняющихся жидкостей. Стояк сливно-наливной одиночный с ручным насосом

Обозначение:ГОСТ 4609-49
Текущий статус документа: действующий
Название документа рус.:Оборудование сливо-наливное для горючих и легковоспламеняющихся жидкостей. Стояк сливно-наливной одиночный с ручным насосом
Название документа англ.:Filling-draining equipment for flammable and highly inflammable liquids. Single filling-draining standpipe with manual pump
Дата актуализации текста:01.12.2013
Дата издания:01.05.1987
Дата введения:30.04.1949
Дата последнего изменения:22.05.2013
Переиздание:переиздание
Область применения:Настоящий стандарт распространяется на одиночные сливо-наливные стояки, служащие для ручного, механизированного или самотечного слива горючих и легковоспламеняющихся жидкостей из вагонов-цистерн с помощью ручного насоса, а также для налива в вагоны-цистерны перекачивающими средствами базы или склада горючего.
Настоящий стандарт устанавливает внешние строительные и монтажные размеры стояков
ГОСТ 4609-49ГОСТ 4609-49ГОСТ 4609-49ГОСТ 4609-49ГОСТ 4609-49ГОСТ 4609-49ГОСТ 4609-49
 




ГОСТЫ, СТРОИТЕЛЬНЫЕ и ТЕХНИЧЕСКИЕ НОРМАТИВЫ.
Некоммерческая онлайн система, содержащая все Российские Госты, национальные Стандарты и нормативы.
В Системе содержится более 150000 файлов нормативно-технической документации, действующей на территории РФ.
Система предназначена для широкого круга инженерно-технических специалистов.

Рейтинг@Mail.ru Яндекс цитирования

Copyright © www.gostrf.com, 2008 - 2026