Крупнейшая бесплатная информационно-справочная система онлайн доступа к полному собранию технических нормативно-правовых актов РФ. Огромная база технических нормативов (более 150 тысяч документов) и полное собрание национальных стандартов, аутентичное официальной базе Госстандарта. GOSTRF.com - это более 1 Терабайта бесплатной технической информации для всех пользователей интернета. Все электронные копии представленных здесь документов могут распространяться без каких-либо ограничений. Поощряется распространение информации с этого сайта на любых других ресурсах. Каждый человек имеет право на неограниченный доступ к этим документам! Каждый человек имеет право на знание требований, изложенных в данных нормативно-правовых актах!

  


 

ГОСТ Р ИСО/МЭК 8831-99

Информационная технология. Взаимосвязь открытых систем. Концепции и услуги передачи и обработки заданий

Обозначение:ГОСТ Р ИСО/МЭК 8831-99
Текущий статус документа: действующий
Название документа рус.:Информационная технология. Взаимосвязь открытых систем. Концепции и услуги передачи и обработки заданий
Название документа англ.:Information technology. Open systems interconnection. Job transfer and manipulation concepts and services
Дата актуализации текста:01.12.2013
Дата издания:17.05.1999
Дата введения:01.01.2000
Дата последнего изменения:22.05.2013
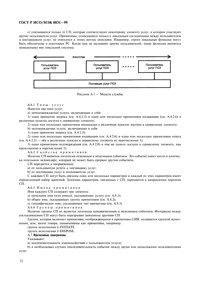
Область применения:Настоящий стандарт является стандартом прикладного уровня архитектуры взаимосвязи открытых систем, установленной ГОСТ 28906. Он определяет концепции и услуги для ПОЗ.
Стандарт требует от пользователя ПОЗ:
- указать открытые системы, в которых должна быть выполнена работа;
- знать локальные функции и возможности открытых систем, в которых должна быть выполнена работа;
- знать управляющие языки, используемые для указания локальной работы в открытых системах, в которых должна быть выполнена работа.
Настоящий стандарт обеспечивает возможность для:
- указания работы, которая должна быть выполнена в одной или нескольких открытых системах;
- управления выполнением предварительно указанной работы;
- модификации предварительно указанной работы.
Настоящий стандарт не определяет управляющие языки, но он применим для использования стандартного управляющего языка. Стандарт не определяет интерфейсы пользователя
ГОСТ Р ИСО/МЭК 8831-99ГОСТ Р ИСО/МЭК 8831-99ГОСТ Р ИСО/МЭК 8831-99ГОСТ Р ИСО/МЭК 8831-99ГОСТ Р ИСО/МЭК 8831-99ГОСТ Р ИСО/МЭК 8831-99ГОСТ Р ИСО/МЭК 8831-99ГОСТ Р ИСО/МЭК 8831-99ГОСТ Р ИСО/МЭК 8831-99ГОСТ Р ИСО/МЭК 8831-99ГОСТ Р ИСО/МЭК 8831-99ГОСТ Р ИСО/МЭК 8831-99ГОСТ Р ИСО/МЭК 8831-99ГОСТ Р ИСО/МЭК 8831-99ГОСТ Р ИСО/МЭК 8831-99ГОСТ Р ИСО/МЭК 8831-99ГОСТ Р ИСО/МЭК 8831-99ГОСТ Р ИСО/МЭК 8831-99ГОСТ Р ИСО/МЭК 8831-99ГОСТ Р ИСО/МЭК 8831-99ГОСТ Р ИСО/МЭК 8831-99ГОСТ Р ИСО/МЭК 8831-99ГОСТ Р ИСО/МЭК 8831-99ГОСТ Р ИСО/МЭК 8831-99ГОСТ Р ИСО/МЭК 8831-99ГОСТ Р ИСО/МЭК 8831-99ГОСТ Р ИСО/МЭК 8831-99ГОСТ Р ИСО/МЭК 8831-99ГОСТ Р ИСО/МЭК 8831-99ГОСТ Р ИСО/МЭК 8831-99ГОСТ Р ИСО/МЭК 8831-99ГОСТ Р ИСО/МЭК 8831-99ГОСТ Р ИСО/МЭК 8831-99ГОСТ Р ИСО/МЭК 8831-99ГОСТ Р ИСО/МЭК 8831-99ГОСТ Р ИСО/МЭК 8831-99ГОСТ Р ИСО/МЭК 8831-99ГОСТ Р ИСО/МЭК 8831-99ГОСТ Р ИСО/МЭК 8831-99ГОСТ Р ИСО/МЭК 8831-99ГОСТ Р ИСО/МЭК 8831-99ГОСТ Р ИСО/МЭК 8831-99ГОСТ Р ИСО/МЭК 8831-99ГОСТ Р ИСО/МЭК 8831-99ГОСТ Р ИСО/МЭК 8831-99ГОСТ Р ИСО/МЭК 8831-99ГОСТ Р ИСО/МЭК 8831-99ГОСТ Р ИСО/МЭК 8831-99ГОСТ Р ИСО/МЭК 8831-99ГОСТ Р ИСО/МЭК 8831-99ГОСТ Р ИСО/МЭК 8831-99ГОСТ Р ИСО/МЭК 8831-99ГОСТ Р ИСО/МЭК 8831-99ГОСТ Р ИСО/МЭК 8831-99ГОСТ Р ИСО/МЭК 8831-99ГОСТ Р ИСО/МЭК 8831-99ГОСТ Р ИСО/МЭК 8831-99ГОСТ Р ИСО/МЭК 8831-99ГОСТ Р ИСО/МЭК 8831-99ГОСТ Р ИСО/МЭК 8831-99ГОСТ Р ИСО/МЭК 8831-99ГОСТ Р ИСО/МЭК 8831-99ГОСТ Р ИСО/МЭК 8831-99ГОСТ Р ИСО/МЭК 8831-99ГОСТ Р ИСО/МЭК 8831-99ГОСТ Р ИСО/МЭК 8831-99ГОСТ Р ИСО/МЭК 8831-99ГОСТ Р ИСО/МЭК 8831-99ГОСТ Р ИСО/МЭК 8831-99ГОСТ Р ИСО/МЭК 8831-99ГОСТ Р ИСО/МЭК 8831-99ГОСТ Р ИСО/МЭК 8831-99ГОСТ Р ИСО/МЭК 8831-99ГОСТ Р ИСО/МЭК 8831-99ГОСТ Р ИСО/МЭК 8831-99ГОСТ Р ИСО/МЭК 8831-99ГОСТ Р ИСО/МЭК 8831-99ГОСТ Р ИСО/МЭК 8831-99ГОСТ Р ИСО/МЭК 8831-99ГОСТ Р ИСО/МЭК 8831-99ГОСТ Р ИСО/МЭК 8831-99ГОСТ Р ИСО/МЭК 8831-99ГОСТ Р ИСО/МЭК 8831-99ГОСТ Р ИСО/МЭК 8831-99ГОСТ Р ИСО/МЭК 8831-99ГОСТ Р ИСО/МЭК 8831-99ГОСТ Р ИСО/МЭК 8831-99ГОСТ Р ИСО/МЭК 8831-99ГОСТ Р ИСО/МЭК 8831-99ГОСТ Р ИСО/МЭК 8831-99ГОСТ Р ИСО/МЭК 8831-99ГОСТ Р ИСО/МЭК 8831-99ГОСТ Р ИСО/МЭК 8831-99ГОСТ Р ИСО/МЭК 8831-99ГОСТ Р ИСО/МЭК 8831-99ГОСТ Р ИСО/МЭК 8831-99ГОСТ Р ИСО/МЭК 8831-99ГОСТ Р ИСО/МЭК 8831-99ГОСТ Р ИСО/МЭК 8831-99ГОСТ Р ИСО/МЭК 8831-99ГОСТ Р ИСО/МЭК 8831-99ГОСТ Р ИСО/МЭК 8831-99ГОСТ Р ИСО/МЭК 8831-99ГОСТ Р ИСО/МЭК 8831-99ГОСТ Р ИСО/МЭК 8831-99
 




ГОСТЫ, СТРОИТЕЛЬНЫЕ и ТЕХНИЧЕСКИЕ НОРМАТИВЫ.
Некоммерческая онлайн система, содержащая все Российские Госты, национальные Стандарты и нормативы.
В Системе содержится более 150000 файлов нормативно-технической документации, действующей на территории РФ.
Система предназначена для широкого круга инженерно-технических специалистов.

Рейтинг@Mail.ru Яндекс цитирования

Copyright © www.gostrf.com, 2008 - 2026