Крупнейшая бесплатная информационно-справочная система онлайн доступа к полному собранию технических нормативно-правовых актов РФ. Огромная база технических нормативов (более 150 тысяч документов) и полное собрание национальных стандартов, аутентичное официальной базе Госстандарта. GOSTRF.com - это более 1 Терабайта бесплатной технической информации для всех пользователей интернета. Все электронные копии представленных здесь документов могут распространяться без каких-либо ограничений. Поощряется распространение информации с этого сайта на любых других ресурсах. Каждый человек имеет право на неограниченный доступ к этим документам! Каждый человек имеет право на знание требований, изложенных в данных нормативно-правовых актах!

  


 

ГОСТ Р ИСО 8637-99

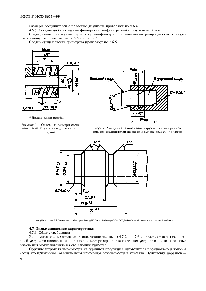
Гемодиализаторы, гемофильтры и гемоконцентраторы. Технические требования и методы испытаний

Обозначение:ГОСТ Р ИСО 8637-99
Текущий статус документа: действующий
Название документа рус.:Гемодиализаторы, гемофильтры и гемоконцентраторы. Технические требования и методы испытаний
Название документа англ.:Haemodialysers, haemofilters and haemoconcentrators. Technical requirements and test methods
Дата актуализации текста:01.12.2013
Дата издания:14.08.2000
Дата введения:01.01.2001
Дата последнего изменения:22.05.2013
Дата окончания срока действия:01.01.2015
Область применения:Настоящий стандарт устанавливает требования к катушечным, пластинчатым и капиллярным гемодиализаторам, а также гемофильтрам и гемоконцентраторам, предназначенным для однократного применения.
Настоящий стандарт не устанавливает параметры конструкционных материалов, методы испытания на биосовместимость, оценку стерильности, апирогенность и отдельные эксплуатационные характеристики устройств.
Настоящий стандарт не распространяется на устройства, собранные и стерилизованные пользователем, кровопроводящие магистрали, плазмофильтры, устройства сосудистого доступа, гемоперфузионные устройства, перфузионные насосы, мониторы измерения давления и контроля воздушных включений в магистралях, гемодиализные и гемофильтрационные аппараты, а также аппараты для гемоконцентрации
Список изменений:№0 от 01.01.2015 (рег. 19.12.2012) «Текстовое изменение; Изменено заглавие»
ГОСТ Р ИСО 8637-99ГОСТ Р ИСО 8637-99ГОСТ Р ИСО 8637-99ГОСТ Р ИСО 8637-99ГОСТ Р ИСО 8637-99ГОСТ Р ИСО 8637-99ГОСТ Р ИСО 8637-99ГОСТ Р ИСО 8637-99ГОСТ Р ИСО 8637-99ГОСТ Р ИСО 8637-99ГОСТ Р ИСО 8637-99ГОСТ Р ИСО 8637-99ГОСТ Р ИСО 8637-99ГОСТ Р ИСО 8637-99ГОСТ Р ИСО 8637-99ГОСТ Р ИСО 8637-99ГОСТ Р ИСО 8637-99ГОСТ Р ИСО 8637-99ГОСТ Р ИСО 8637-99ГОСТ Р ИСО 8637-99
 




ГОСТЫ, СТРОИТЕЛЬНЫЕ и ТЕХНИЧЕСКИЕ НОРМАТИВЫ.
Некоммерческая онлайн система, содержащая все Российские Госты, национальные Стандарты и нормативы.
В Системе содержится более 150000 файлов нормативно-технической документации, действующей на территории РФ.
Система предназначена для широкого круга инженерно-технических специалистов.

Рейтинг@Mail.ru Яндекс цитирования

Copyright © www.gostrf.com, 2008 - 2026