Крупнейшая бесплатная информационно-справочная система онлайн доступа к полному собранию технических нормативно-правовых актов РФ. Огромная база технических нормативов (более 150 тысяч документов) и полное собрание национальных стандартов, аутентичное официальной базе Госстандарта. GOSTRF.com - это более 1 Терабайта бесплатной технической информации для всех пользователей интернета. Все электронные копии представленных здесь документов могут распространяться без каких-либо ограничений. Поощряется распространение информации с этого сайта на любых других ресурсах. Каждый человек имеет право на неограниченный доступ к этим документам! Каждый человек имеет право на знание требований, изложенных в данных нормативно-правовых актах!

  


 

ГОСТ 19440-94

Порошки металлические. Определение насыпной плотности. Часть 1. Метод с использованием воронки. Часть 2. Метод волюмометра Скотта

Обозначение:ГОСТ 19440-94
Текущий статус документа: действующий
Название документа рус.:Порошки металлические. Определение насыпной плотности. Часть 1. Метод с использованием воронки. Часть 2. Метод волюмометра Скотта
Название документа англ.:Metallic powders. Determination of apparent density. Part 1. Funnel method. Part 2. Scott volumeter method
Дата актуализации текста:01.12.2013
Дата издания:09.12.1996
Дата введения:01.01.1997
Дата последнего изменения:22.05.2013
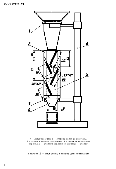
Область применения:Настоящая часть стандарта устанавливает метод определения насыпной плотности металлических порошков при стандартизованных условиях с помощью воронки.
Метод распространяется на металлические порошки, свободно протекающие через отверстие диаметром 2,5 мм, а также может быть использован для порошков, которые плохо протекают через отверстие диаметром 2,5 мм, но свободно протекают через отверстие диаметром 5 мм.
Метод определения насыпной плотности порошков, которые не протекают через отверстие диаметром 5 мм, установлен во второй части настоящего стандарта
ГОСТ 19440-94ГОСТ 19440-94ГОСТ 19440-94ГОСТ 19440-94ГОСТ 19440-94ГОСТ 19440-94ГОСТ 19440-94ГОСТ 19440-94ГОСТ 19440-94ГОСТ 19440-94ГОСТ 19440-94ГОСТ 19440-94ГОСТ 19440-94ГОСТ 19440-94ГОСТ 19440-94
 




ГОСТЫ, СТРОИТЕЛЬНЫЕ и ТЕХНИЧЕСКИЕ НОРМАТИВЫ.
Некоммерческая онлайн система, содержащая все Российские Госты, национальные Стандарты и нормативы.
В Системе содержится более 150000 файлов нормативно-технической документации, действующей на территории РФ.
Система предназначена для широкого круга инженерно-технических специалистов.

Рейтинг@Mail.ru Яндекс цитирования

Copyright © www.gostrf.com, 2008 - 2026