Крупнейшая бесплатная информационно-справочная система онлайн доступа к полному собранию технических нормативно-правовых актов РФ. Огромная база технических нормативов (более 150 тысяч документов) и полное собрание национальных стандартов, аутентичное официальной базе Госстандарта. GOSTRF.com - это более 1 Терабайта бесплатной технической информации для всех пользователей интернета. Все электронные копии представленных здесь документов могут распространяться без каких-либо ограничений. Поощряется распространение информации с этого сайта на любых других ресурсах. Каждый человек имеет право на неограниченный доступ к этим документам! Каждый человек имеет право на знание требований, изложенных в данных нормативно-правовых актах!

  


 

ГОСТ Р 50940-96

Устройства электрошоковые. Общие технические условия

Обозначение:ГОСТ Р 50940-96
Текущий статус документа: действующий
Название документа рус.:Устройства электрошоковые. Общие технические условия
Название документа англ.:Electroshock batons. General specifications
Дата актуализации текста:01.12.2013
Дата издания:17.10.1996
Дата введения:01.01.1997
Дата последнего изменения:22.05.2013
Область применения:Настоящий стандарт распространяется на электрошоковые устройства отечественного производства, предназначенные для использования в целях самообороны, и защитные электрошоковые устройства отечественного производства, предназначенные для защиты (охраны) стационарных и подвижных объектов гражданского и ведомственного назначения от несанкционированного проникновения и воздействия
Список изменений:№1 от 01.01.1997 (рег. 02.09.1997) «Срок действия продлен»
№2 от 09.07.2000 (рег. 22.12.1999) «Срок действия продлен»
№3 от 01.09.2008 (рег. 02.07.2008) «Текстовое изменение; Изменены ссылочные НД»
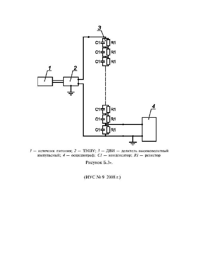
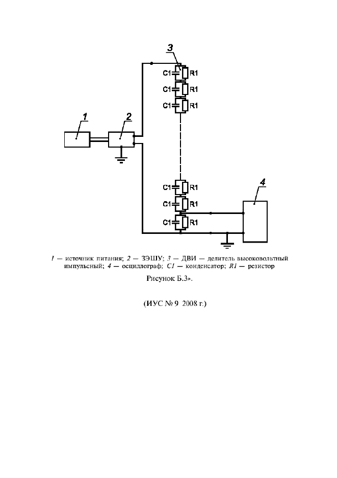
Приложение №1:Изменение №3 к ГОСТ Р 50940-96
ГОСТ Р 50940-96ГОСТ Р 50940-96ГОСТ Р 50940-96ГОСТ Р 50940-96ГОСТ Р 50940-96ГОСТ Р 50940-96ГОСТ Р 50940-96ГОСТ Р 50940-96ГОСТ Р 50940-96ГОСТ Р 50940-96ГОСТ Р 50940-96ГОСТ Р 50940-96ГОСТ Р 50940-96ГОСТ Р 50940-96ГОСТ Р 50940-96ГОСТ Р 50940-96ГОСТ Р 50940-96ГОСТ Р 50940-96ГОСТ Р 50940-96ГОСТ Р 50940-96ГОСТ Р 50940-96ГОСТ Р 50940-96ГОСТ Р 50940-96ГОСТ Р 50940-96ГОСТ Р 50940-96ГОСТ Р 50940-96ГОСТ Р 50940-96ГОСТ Р 50940-96ГОСТ Р 50940-96ГОСТ Р 50940-96ГОСТ Р 50940-96ГОСТ Р 50940-96

Изменение №3 к ГОСТ Р 50940-96

Обозначение:Изменение №3 к ГОСТ Р 50940-96
Дата введения:01.09.2008


Изменение №3 к ГОСТ Р 50940-96Изменение №3 к ГОСТ Р 50940-96Изменение №3 к ГОСТ Р 50940-96Изменение №3 к ГОСТ Р 50940-96Изменение №3 к ГОСТ Р 50940-96Изменение №3 к ГОСТ Р 50940-96
 




ГОСТЫ, СТРОИТЕЛЬНЫЕ и ТЕХНИЧЕСКИЕ НОРМАТИВЫ.
Некоммерческая онлайн система, содержащая все Российские Госты, национальные Стандарты и нормативы.
В Системе содержится более 150000 файлов нормативно-технической документации, действующей на территории РФ.
Система предназначена для широкого круга инженерно-технических специалистов.

Рейтинг@Mail.ru Яндекс цитирования

Copyright © www.gostrf.com, 2008 - 2026