Крупнейшая бесплатная информационно-справочная система онлайн доступа к полному собранию технических нормативно-правовых актов РФ. Огромная база технических нормативов (более 150 тысяч документов) и полное собрание национальных стандартов, аутентичное официальной базе Госстандарта. GOSTRF.com - это более 1 Терабайта бесплатной технической информации для всех пользователей интернета. Все электронные копии представленных здесь документов могут распространяться без каких-либо ограничений. Поощряется распространение информации с этого сайта на любых других ресурсах. Каждый человек имеет право на неограниченный доступ к этим документам! Каждый человек имеет право на знание требований, изложенных в данных нормативно-правовых актах!

  


 

ГОСТ Р ИСО 6313-93

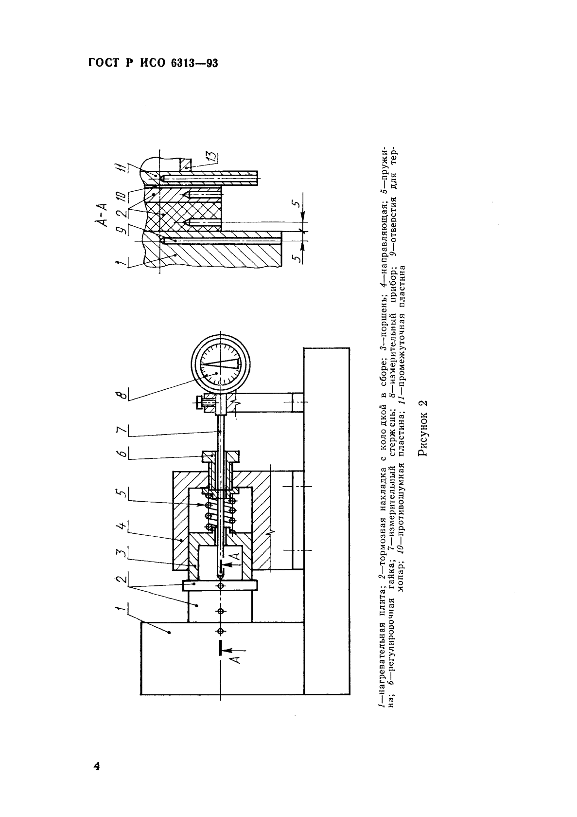
Транспорт дорожный. Накладки тормозные. Метод определения влияния тепла на размеры и форму накладок дискового тормоза

Обозначение:ГОСТ Р ИСО 6313-93
Текущий статус документа: действующий
Название документа рус.:Транспорт дорожный. Накладки тормозные. Метод определения влияния тепла на размеры и форму накладок дискового тормоза
Название документа англ.:Road vehicles. Brake linings. Effects of heat on dimensions and form of disc brake pads. Test procedure
Дата актуализации текста:01.12.2013
Дата издания:10.06.1993
Дата введения:01.01.1994
Дата последнего изменения:22.05.2013
Область применения:Настоящий стандарт устанавливает комбинированный метод испытаний накладок дисковых тормозов с целью определения влияния температуры на их размеры, а также способности накладок оказывать сопротивление передачи тепла в направлении прилагаемого давления.
Настоящий стандарт распространяется на накладки дисковых тормозов и определяет их размеры: толщину и размеры контура накладки, когда их отклонение может вызвать нарушение работы тормоза.
Размеры накладок дискового тормоза, формованных на основе связующего, не должны превышать 80 мм по высоте, 120 мм по ширине и 20 мм по толщине. Если размеры накладок превышают указанные, из обрезают или шлифуют. Колодку изготовляют из твердого материала
ГОСТ Р ИСО 6313-93ГОСТ Р ИСО 6313-93ГОСТ Р ИСО 6313-93ГОСТ Р ИСО 6313-93ГОСТ Р ИСО 6313-93ГОСТ Р ИСО 6313-93ГОСТ Р ИСО 6313-93ГОСТ Р ИСО 6313-93ГОСТ Р ИСО 6313-93ГОСТ Р ИСО 6313-93ГОСТ Р ИСО 6313-93
 




ГОСТЫ, СТРОИТЕЛЬНЫЕ и ТЕХНИЧЕСКИЕ НОРМАТИВЫ.
Некоммерческая онлайн система, содержащая все Российские Госты, национальные Стандарты и нормативы.
В Системе содержится более 150000 файлов нормативно-технической документации, действующей на территории РФ.
Система предназначена для широкого круга инженерно-технических специалистов.

Рейтинг@Mail.ru Яндекс цитирования

Copyright © www.gostrf.com, 2008 - 2026