Крупнейшая бесплатная информационно-справочная система онлайн доступа к полному собранию технических нормативно-правовых актов РФ. Огромная база технических нормативов (более 150 тысяч документов) и полное собрание национальных стандартов, аутентичное официальной базе Госстандарта. GOSTRF.com - это более 1 Терабайта бесплатной технической информации для всех пользователей интернета. Все электронные копии представленных здесь документов могут распространяться без каких-либо ограничений. Поощряется распространение информации с этого сайта на любых других ресурсах. Каждый человек имеет право на неограниченный доступ к этим документам! Каждый человек имеет право на знание требований, изложенных в данных нормативно-правовых актах!

  


 

ГОСТ Р 50043.1-92

Соединительные устройства для низковольтных цепей бытового и аналогичного назначения. Часть 1. Общие требования

Обозначение:ГОСТ Р 50043.1-92
Текущий статус документа: действующий
Название документа рус.:Соединительные устройства для низковольтных цепей бытового и аналогичного назначения. Часть 1. Общие требования
Название документа англ.:Connecting devices for low voltage circuits for household and similar purposes. Part 1. General requirements
Дата актуализации текста:01.12.2013
Дата издания:01.11.1992
Дата введения:01.01.1994
Дата последнего изменения:21.08.2013
Дата окончания срока действия:01.01.2014
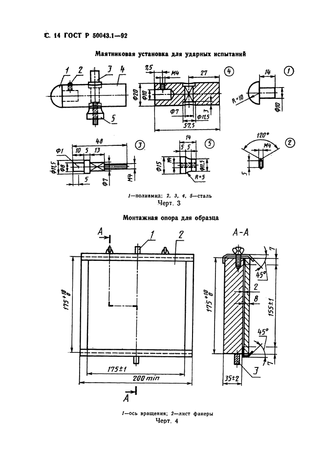
Область применения:Настоящий стандарт распространяется на соединительные устройства бытового и аналогичного назначения, предназначенные для соединения двух или более медных проводников жестких (одно- или многожильных) или гибких с площадью поперечного сечения от 0,5 до 35 кв. мм включительно и эквивалентных проводников AWG на номинальное переменное напряжение до 1000 В частоты до 1000 Гц и постоянное напряжение до 1500 В.
Соединительные устройства, отвечающие требованиям настоящего стандарта, не требуют применения никаких специальных инструментов, за исключением скручивающих соединительных устройств
Список изменений:№0 от 01.01.2014 (рег. 15.11.2012) «Текстовое изменение; Изменено заглавие»
ГОСТ Р 50043.1-92ГОСТ Р 50043.1-92ГОСТ Р 50043.1-92ГОСТ Р 50043.1-92ГОСТ Р 50043.1-92ГОСТ Р 50043.1-92ГОСТ Р 50043.1-92ГОСТ Р 50043.1-92ГОСТ Р 50043.1-92ГОСТ Р 50043.1-92ГОСТ Р 50043.1-92ГОСТ Р 50043.1-92ГОСТ Р 50043.1-92ГОСТ Р 50043.1-92ГОСТ Р 50043.1-92ГОСТ Р 50043.1-92ГОСТ Р 50043.1-92ГОСТ Р 50043.1-92ГОСТ Р 50043.1-92ГОСТ Р 50043.1-92ГОСТ Р 50043.1-92ГОСТ Р 50043.1-92ГОСТ Р 50043.1-92ГОСТ Р 50043.1-92ГОСТ Р 50043.1-92ГОСТ Р 50043.1-92
 




ГОСТЫ, СТРОИТЕЛЬНЫЕ и ТЕХНИЧЕСКИЕ НОРМАТИВЫ.
Некоммерческая онлайн система, содержащая все Российские Госты, национальные Стандарты и нормативы.
В Системе содержится более 150000 файлов нормативно-технической документации, действующей на территории РФ.
Система предназначена для широкого круга инженерно-технических специалистов.

Рейтинг@Mail.ru Яндекс цитирования

Copyright © www.gostrf.com, 2008 - 2026