Крупнейшая бесплатная информационно-справочная система онлайн доступа к полному собранию технических нормативно-правовых актов РФ. Огромная база технических нормативов (более 150 тысяч документов) и полное собрание национальных стандартов, аутентичное официальной базе Госстандарта. GOSTRF.com - это более 1 Терабайта бесплатной технической информации для всех пользователей интернета. Все электронные копии представленных здесь документов могут распространяться без каких-либо ограничений. Поощряется распространение информации с этого сайта на любых других ресурсах. Каждый человек имеет право на неограниченный доступ к этим документам! Каждый человек имеет право на знание требований, изложенных в данных нормативно-правовых актах!

  


 

ГОСТ Р 50160-92

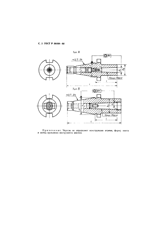
Втулки переходные с наружным конусом 7:24 и внутренним конусом Морзе с встроенным винтом. Размеры

Обозначение:ГОСТ Р 50160-92
Текущий статус документа: действующий
Название документа рус.:Втулки переходные с наружным конусом 7:24 и внутренним конусом Морзе с встроенным винтом. Размеры
Название документа англ.:Reduction sleeves with 7/24 external and Morse internal taper and incorporated screw. Dimensions
Дата актуализации текста:01.12.2013
Дата издания:10.11.1994
Дата введения:30.06.1993
Дата последнего изменения:22.05.2013
Область применения:Настоящий стандарт устанавливает размеры переходных втулок с наружным конусом 7:24 № 30, 40, 45, 50, 60 и внутренним конусом Морзе № 1-6 (конус Морзе № 4, 5, 6 - втулки типа В с принудительным движением или втулки типа А - без принудительного движения). Втулки позволяют закрепить инструмент с коническим хвостовиком Морзе с резьбовым отверстием с помощью внутреннего винта
ГОСТ Р 50160-92ГОСТ Р 50160-92ГОСТ Р 50160-92ГОСТ Р 50160-92ГОСТ Р 50160-92
 




ГОСТЫ, СТРОИТЕЛЬНЫЕ и ТЕХНИЧЕСКИЕ НОРМАТИВЫ.
Некоммерческая онлайн система, содержащая все Российские Госты, национальные Стандарты и нормативы.
В Системе содержится более 150000 файлов нормативно-технической документации, действующей на территории РФ.
Система предназначена для широкого круга инженерно-технических специалистов.

Рейтинг@Mail.ru Яндекс цитирования

Copyright © www.gostrf.com, 2008 - 2026