Крупнейшая бесплатная информационно-справочная система онлайн доступа к полному собранию технических нормативно-правовых актов РФ. Огромная база технических нормативов (более 150 тысяч документов) и полное собрание национальных стандартов, аутентичное официальной базе Госстандарта. GOSTRF.com - это более 1 Терабайта бесплатной технической информации для всех пользователей интернета. Все электронные копии представленных здесь документов могут распространяться без каких-либо ограничений. Поощряется распространение информации с этого сайта на любых других ресурсах. Каждый человек имеет право на неограниченный доступ к этим документам! Каждый человек имеет право на знание требований, изложенных в данных нормативно-правовых актах!

  


 

ГОСТ 28905-91

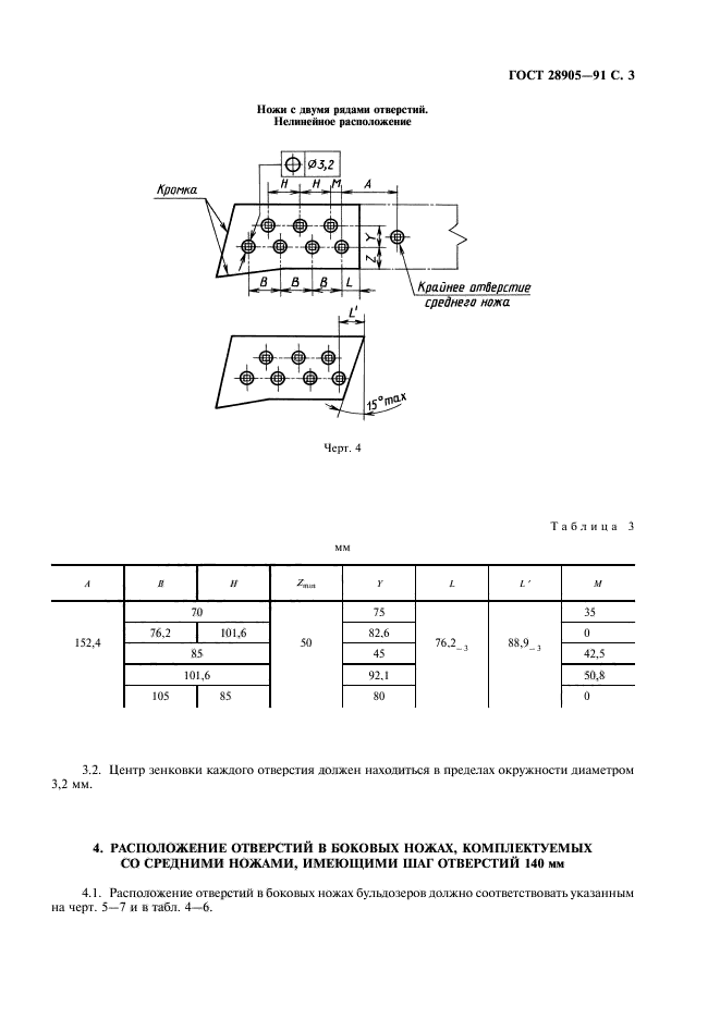
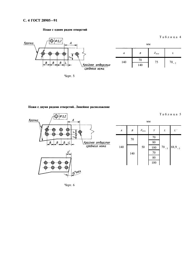
Машины землеройные. Ножи боковые бульдозерных отвалов. Отверстия

Обозначение:ГОСТ 28905-91
Текущий статус документа: действующий
Название документа рус.:Машины землеройные. Ножи боковые бульдозерных отвалов. Отверстия
Название документа англ.:Earth-moving machinery. Dozer end dits. Hole specification
Дата актуализации текста:01.12.2013
Дата издания:01.11.2004
Дата введения:01.01.1992
Дата последнего изменения:22.05.2013
Переиздание:переиздание
Область применения:Настоящий стандарт распространяется на поворотные, неповоротные, сферические и полусферические бульдозерные отвалы и устанавливает основные требования к расположению, формам и размерам отверстий под болты крепления боковых ножей бульдозерных отвалов.
Стандарт распространяется на вновь разрабатываемые и модернизируемые бульдозеры
ГОСТ 28905-91ГОСТ 28905-91ГОСТ 28905-91ГОСТ 28905-91ГОСТ 28905-91ГОСТ 28905-91ГОСТ 28905-91
 




ГОСТЫ, СТРОИТЕЛЬНЫЕ и ТЕХНИЧЕСКИЕ НОРМАТИВЫ.
Некоммерческая онлайн система, содержащая все Российские Госты, национальные Стандарты и нормативы.
В Системе содержится более 150000 файлов нормативно-технической документации, действующей на территории РФ.
Система предназначена для широкого круга инженерно-технических специалистов.

Рейтинг@Mail.ru Яндекс цитирования

Copyright © www.gostrf.com, 2008 - 2026