Крупнейшая бесплатная информационно-справочная система онлайн доступа к полному собранию технических нормативно-правовых актов РФ. Огромная база технических нормативов (более 150 тысяч документов) и полное собрание национальных стандартов, аутентичное официальной базе Госстандарта. GOSTRF.com - это более 1 Терабайта бесплатной технической информации для всех пользователей интернета. Все электронные копии представленных здесь документов могут распространяться без каких-либо ограничений. Поощряется распространение информации с этого сайта на любых других ресурсах. Каждый человек имеет право на неограниченный доступ к этим документам! Каждый человек имеет право на знание требований, изложенных в данных нормативно-правовых актах!

  


 

ГОСТ Р 50571.21-2000

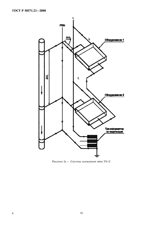
Электроустановки зданий. Часть 5. Выбор и монтаж электрооборудования. Раздел 548. Заземляющие устройства и системы уравнивания электрических потенциалов в электроустановках, содержащих оборудование обработки информации

Обозначение:ГОСТ Р 50571.21-2000
Текущий статус документа: заменён
Название документа рус.:Электроустановки зданий. Часть 5. Выбор и монтаж электрооборудования. Раздел 548. Заземляющие устройства и системы уравнивания электрических потенциалов в электроустановках, содержащих оборудование обработки информации
Название документа англ.:Electrical installations of buildings. Part 5. Selection and erection of electrical equipment. Section 548. Earthing arrangements and equipotential bolding for information technology installations
Дата актуализации текста:01.12.2013
Дата издания:15.06.2012
Дата введения:01.01.2002
Дата последнего изменения:22.05.2013
Дата окончания срока действия:01.01.2013
Переиздание:переиздание
Область применения:Настоящий стандарт распространяется на электроустановки зданий, применяемые во всех отраслях экономики страны, независимо от принадлежности и форм собственности, и устанавливает требования по выбору и монтажу электрооборудования, в частности к выбору конструкции и монтажу заземляющих устройств, систем уравнивания и выравнивания электрических потенциалов в электроустановках, содержащих оборудование обработки информации, соединенное между собой для обмена данными, а также другое электрооборудование, чувствительное к помехам
ГОСТ Р 50571.21-2000ГОСТ Р 50571.21-2000ГОСТ Р 50571.21-2000ГОСТ Р 50571.21-2000ГОСТ Р 50571.21-2000ГОСТ Р 50571.21-2000ГОСТ Р 50571.21-2000ГОСТ Р 50571.21-2000ГОСТ Р 50571.21-2000ГОСТ Р 50571.21-2000ГОСТ Р 50571.21-2000ГОСТ Р 50571.21-2000ГОСТ Р 50571.21-2000ГОСТ Р 50571.21-2000ГОСТ Р 50571.21-2000ГОСТ Р 50571.21-2000ГОСТ Р 50571.21-2000ГОСТ Р 50571.21-2000
 




ГОСТЫ, СТРОИТЕЛЬНЫЕ и ТЕХНИЧЕСКИЕ НОРМАТИВЫ.
Некоммерческая онлайн система, содержащая все Российские Госты, национальные Стандарты и нормативы.
В Системе содержится более 150000 файлов нормативно-технической документации, действующей на территории РФ.
Система предназначена для широкого круга инженерно-технических специалистов.

Рейтинг@Mail.ru Яндекс цитирования

Copyright © www.gostrf.com, 2008 - 2026