Крупнейшая бесплатная информационно-справочная система онлайн доступа к полному собранию технических нормативно-правовых актов РФ. Огромная база технических нормативов (более 150 тысяч документов) и полное собрание национальных стандартов, аутентичное официальной базе Госстандарта. GOSTRF.com - это более 1 Терабайта бесплатной технической информации для всех пользователей интернета. Все электронные копии представленных здесь документов могут распространяться без каких-либо ограничений. Поощряется распространение информации с этого сайта на любых других ресурсах. Каждый человек имеет право на неограниченный доступ к этим документам! Каждый человек имеет право на знание требований, изложенных в данных нормативно-правовых актах!

  


 

ГОСТ 26161-89

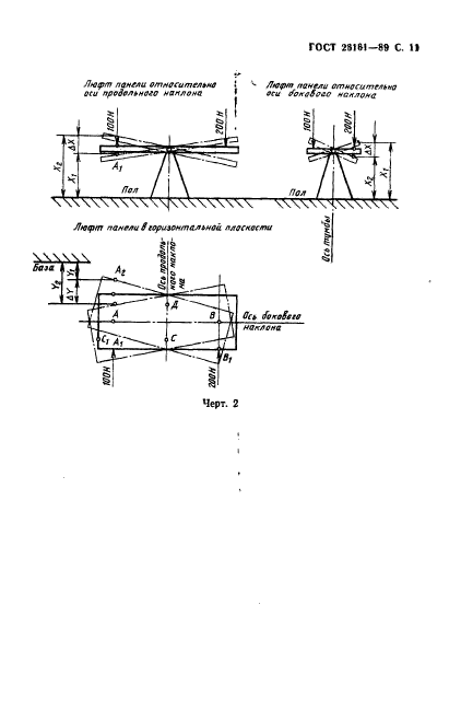
Столы операционные. Общие технические требования и методы испытаний

Обозначение:ГОСТ 26161-89
Текущий статус документа: действующий
Название документа рус.:Столы операционные. Общие технические требования и методы испытаний
Название документа англ.:Operating tables. General technical requirements and test methods
Дата актуализации текста:01.12.2013
Дата издания:19.09.1989
Дата введения:01.01.1990
Дата последнего изменения:22.05.2013
Взамен:
Область применения:Настоящий стандарт распространяется на общехирургические, специальные и перевязочные столы, предназначенные для применения в медицинских учреждениях внутри страны и для экспорта.
Стандарт не распространяется на детские, переносные и перевозимые столы
Список изменений:№1 от 01.01.1991 (рег. 25.04.1990) «Срок действия продлен»
ГОСТ 26161-89ГОСТ 26161-89ГОСТ 26161-89ГОСТ 26161-89ГОСТ 26161-89ГОСТ 26161-89ГОСТ 26161-89ГОСТ 26161-89ГОСТ 26161-89ГОСТ 26161-89ГОСТ 26161-89ГОСТ 26161-89ГОСТ 26161-89ГОСТ 26161-89ГОСТ 26161-89ГОСТ 26161-89ГОСТ 26161-89ГОСТ 26161-89ГОСТ 26161-89ГОСТ 26161-89ГОСТ 26161-89ГОСТ 26161-89ГОСТ 26161-89ГОСТ 26161-89ГОСТ 26161-89ГОСТ 26161-89ГОСТ 26161-89
 




ГОСТЫ, СТРОИТЕЛЬНЫЕ и ТЕХНИЧЕСКИЕ НОРМАТИВЫ.
Некоммерческая онлайн система, содержащая все Российские Госты, национальные Стандарты и нормативы.
В Системе содержится более 150000 файлов нормативно-технической документации, действующей на территории РФ.
Система предназначена для широкого круга инженерно-технических специалистов.

Рейтинг@Mail.ru Яндекс цитирования

Copyright © www.gostrf.com, 2008 - 2026