Крупнейшая бесплатная информационно-справочная система онлайн доступа к полному собранию технических нормативно-правовых актов РФ. Огромная база технических нормативов (более 150 тысяч документов) и полное собрание национальных стандартов, аутентичное официальной базе Госстандарта. GOSTRF.com - это более 1 Терабайта бесплатной технической информации для всех пользователей интернета. Все электронные копии представленных здесь документов могут распространяться без каких-либо ограничений. Поощряется распространение информации с этого сайта на любых других ресурсах. Каждый человек имеет право на неограниченный доступ к этим документам! Каждый человек имеет право на знание требований, изложенных в данных нормативно-правовых актах!

  


 

ГОСТ 27875-88

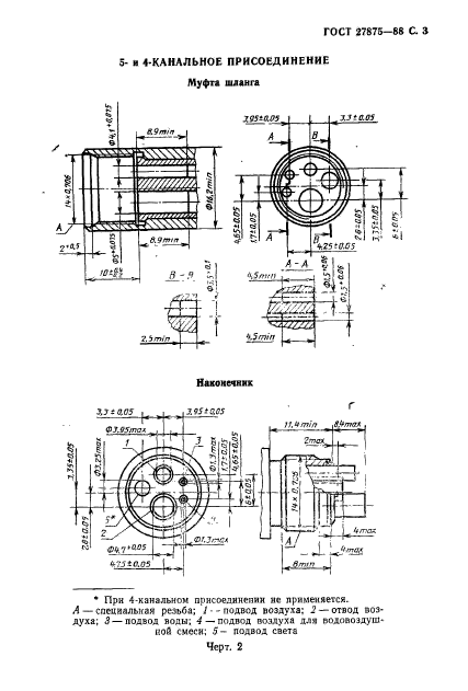
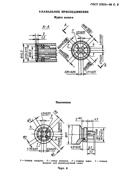
Наконечники стоматологические пневмотурбинные и муфты шлангов. Присоединительные размеры

Обозначение:ГОСТ 27875-88
Текущий статус документа: действующий
Название документа рус.:Наконечники стоматологические пневмотурбинные и муфты шлангов. Присоединительные размеры
Название документа англ.:Air turbine dental handpieces and flexible hose connectors. Mounting dimensions
Дата актуализации текста:01.12.2013
Дата издания:11.01.1989
Дата введения:30.06.1989
Дата последнего изменения:22.05.2013
Область применения:Настоящий стандарт распространяется на стоматологические пневмотурбинные наконечники, пневматические аппараты для снятия зубного камня (далее - наконечники), пневмобормашины и устанавливает присоединительные размеры наконечников и муфт гибких шлангов, предназначенных для соединения наконечников и гибких шлангов пневмобормашин, с помощью которых обеспечивается питание наконечников водой, воздухом, светом и отвод воздуха
ГОСТ 27875-88ГОСТ 27875-88ГОСТ 27875-88ГОСТ 27875-88ГОСТ 27875-88ГОСТ 27875-88ГОСТ 27875-88
 




ГОСТЫ, СТРОИТЕЛЬНЫЕ и ТЕХНИЧЕСКИЕ НОРМАТИВЫ.
Некоммерческая онлайн система, содержащая все Российские Госты, национальные Стандарты и нормативы.
В Системе содержится более 150000 файлов нормативно-технической документации, действующей на территории РФ.
Система предназначена для широкого круга инженерно-технических специалистов.

Рейтинг@Mail.ru Яндекс цитирования

Copyright © www.gostrf.com, 2008 - 2026