Крупнейшая бесплатная информационно-справочная система онлайн доступа к полному собранию технических нормативно-правовых актов РФ. Огромная база технических нормативов (более 150 тысяч документов) и полное собрание национальных стандартов, аутентичное официальной базе Госстандарта. GOSTRF.com - это более 1 Терабайта бесплатной технической информации для всех пользователей интернета. Все электронные копии представленных здесь документов могут распространяться без каких-либо ограничений. Поощряется распространение информации с этого сайта на любых других ресурсах. Каждый человек имеет право на неограниченный доступ к этим документам! Каждый человек имеет право на знание требований, изложенных в данных нормативно-правовых актах!

  


 

ГОСТ 26548-85

Воздухонагреватели. Методы испытаний

Обозначение:ГОСТ 26548-85
Текущий статус документа: действующий
Название документа рус.:Воздухонагреватели. Методы испытаний
Название документа англ.:Air heaters. Methods of tests
Дата актуализации текста:01.12.2013
Дата издания:19.08.1985
Дата введения:01.01.1986
Дата последнего изменения:22.05.2013
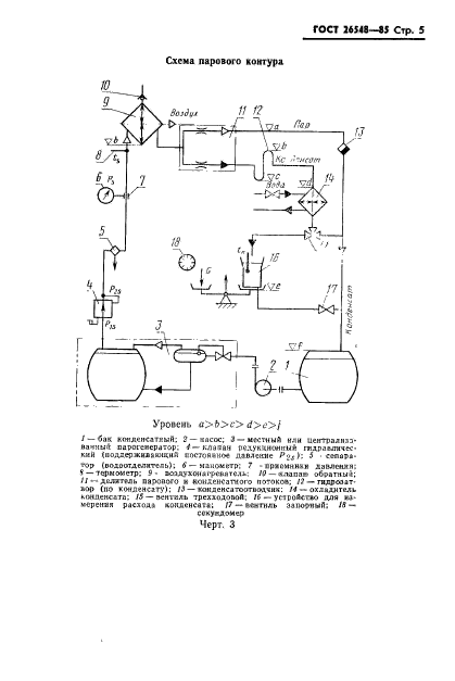
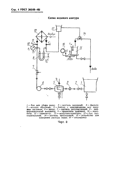
Область применения:Настоящий стандарт распространяется на воздухонагреватели, обогреваемые водой и паром, предназначенные для нагревания воздуха в системах кондиционирования воздуха, вентиляции, воздушного отопления, в сушильных установках и воздушно-тепловых завесах, и устанавливает методы стендовых теплотехнических, аэродинамических и гидравлических испытаний воздухонагревателей.
Стандарт не распространяется на воздухонагреватели специального назначения и исполнения (воздухонагреватели кондиционеров, транспортных средств, отопительно-вентиляционных и других агрегатов)
Список изменений:№1 от 01.01.1991 (рег. 18.07.1990) «Срок действия продлен»
ГОСТ 26548-85ГОСТ 26548-85ГОСТ 26548-85ГОСТ 26548-85ГОСТ 26548-85ГОСТ 26548-85ГОСТ 26548-85ГОСТ 26548-85ГОСТ 26548-85ГОСТ 26548-85ГОСТ 26548-85ГОСТ 26548-85ГОСТ 26548-85ГОСТ 26548-85ГОСТ 26548-85ГОСТ 26548-85ГОСТ 26548-85ГОСТ 26548-85ГОСТ 26548-85ГОСТ 26548-85ГОСТ 26548-85
 




ГОСТЫ, СТРОИТЕЛЬНЫЕ и ТЕХНИЧЕСКИЕ НОРМАТИВЫ.
Некоммерческая онлайн система, содержащая все Российские Госты, национальные Стандарты и нормативы.
В Системе содержится более 150000 файлов нормативно-технической документации, действующей на территории РФ.
Система предназначена для широкого круга инженерно-технических специалистов.

Рейтинг@Mail.ru Яндекс цитирования

Copyright © www.gostrf.com, 2008 - 2026