Крупнейшая бесплатная информационно-справочная система онлайн доступа к полному собранию технических нормативно-правовых актов РФ. Огромная база технических нормативов (более 150 тысяч документов) и полное собрание национальных стандартов, аутентичное официальной базе Госстандарта. GOSTRF.com - это более 1 Терабайта бесплатной технической информации для всех пользователей интернета. Все электронные копии представленных здесь документов могут распространяться без каких-либо ограничений. Поощряется распространение информации с этого сайта на любых других ресурсах. Каждый человек имеет право на неограниченный доступ к этим документам! Каждый человек имеет право на знание требований, изложенных в данных нормативно-правовых актах!

  


 

ГОСТ 26618-85

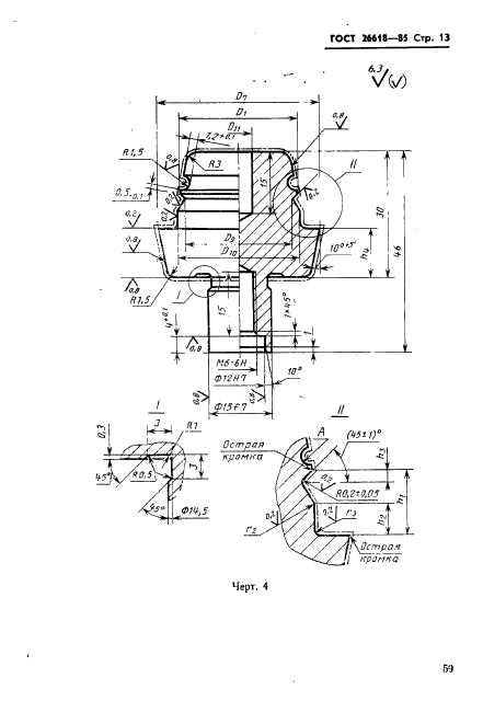
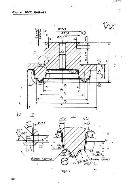
Пакеты двухкассетные пресс-форм для изготовления манжет гидравлических устройств. Конструкция и размеры

Обозначение:ГОСТ 26618-85
Текущий статус документа: действующий
Название документа рус.:Пакеты двухкассетные пресс-форм для изготовления манжет гидравлических устройств. Конструкция и размеры
Название документа англ.:Sets of two-casseta press-moulds for manufacturing of rubber u-packing seals. Design and dimensions
Дата актуализации текста:01.12.2013
Дата издания:07.03.1986
Дата введения:30.06.1986
Дата последнего изменения:22.05.2013
Область применения:Настоящий стандарт распространяется на пакеты для изготовления резиновых уплотнительных манжет по ГОСТ 14896-84 типов 1 и 3 размерами от 40х24 до 130х110 мм. Пакеты предназначены для установки в блоки двухкассетных пресс-форм по ГОСТ 20177-74
ГОСТ 26618-85ГОСТ 26618-85ГОСТ 26618-85ГОСТ 26618-85ГОСТ 26618-85ГОСТ 26618-85ГОСТ 26618-85ГОСТ 26618-85ГОСТ 26618-85ГОСТ 26618-85ГОСТ 26618-85ГОСТ 26618-85ГОСТ 26618-85ГОСТ 26618-85ГОСТ 26618-85ГОСТ 26618-85ГОСТ 26618-85ГОСТ 26618-85ГОСТ 26618-85
 




ГОСТЫ, СТРОИТЕЛЬНЫЕ и ТЕХНИЧЕСКИЕ НОРМАТИВЫ.
Некоммерческая онлайн система, содержащая все Российские Госты, национальные Стандарты и нормативы.
В Системе содержится более 150000 файлов нормативно-технической документации, действующей на территории РФ.
Система предназначена для широкого круга инженерно-технических специалистов.

Рейтинг@Mail.ru Яндекс цитирования

Copyright © www.gostrf.com, 2008 - 2026