Крупнейшая бесплатная информационно-справочная система онлайн доступа к полному собранию технических нормативно-правовых актов РФ. Огромная база технических нормативов (более 150 тысяч документов) и полное собрание национальных стандартов, аутентичное официальной базе Госстандарта. GOSTRF.com - это более 1 Терабайта бесплатной технической информации для всех пользователей интернета. Все электронные копии представленных здесь документов могут распространяться без каких-либо ограничений. Поощряется распространение информации с этого сайта на любых других ресурсах. Каждый человек имеет право на неограниченный доступ к этим документам! Каждый человек имеет право на знание требований, изложенных в данных нормативно-правовых актах!

  


 

ГОСТ 13484-85

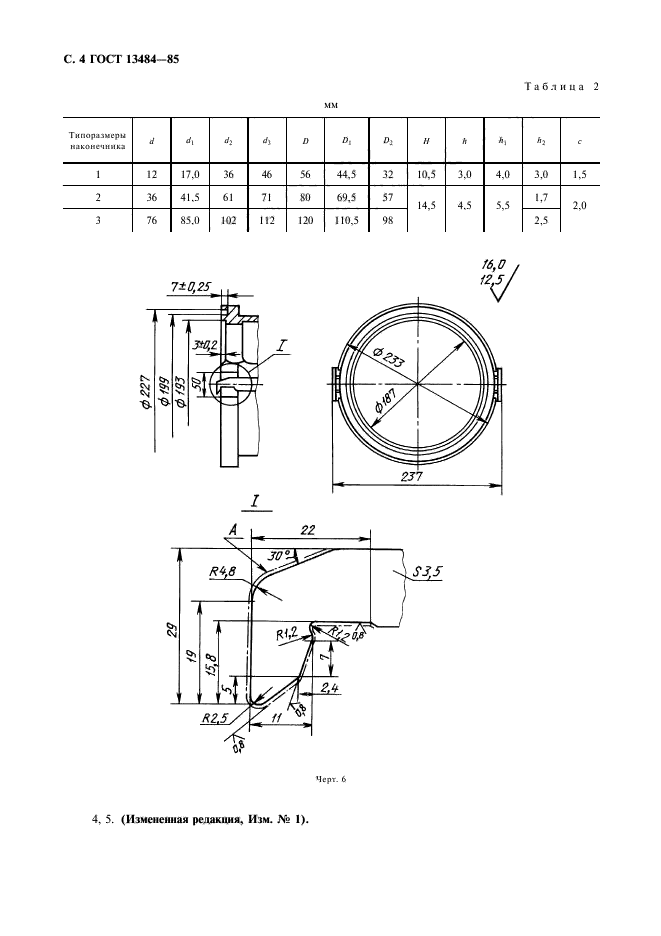
Соединение бортового штуцера с наконечником аэродромных кондиционеров и подогревателей. Типы и размеры

Обозначение:ГОСТ 13484-85
Текущий статус документа: действующий
Название документа рус.:Соединение бортового штуцера с наконечником аэродромных кондиционеров и подогревателей. Типы и размеры
Название документа англ.:Board pipe tip connections for ground air-conditioning units and heaters. Types and dimensions
Дата актуализации текста:01.12.2013
Дата издания:01.03.1999
Дата введения:30.06.1986
Дата последнего изменения:22.05.2013
Переиздание:переиздание с изм. 1
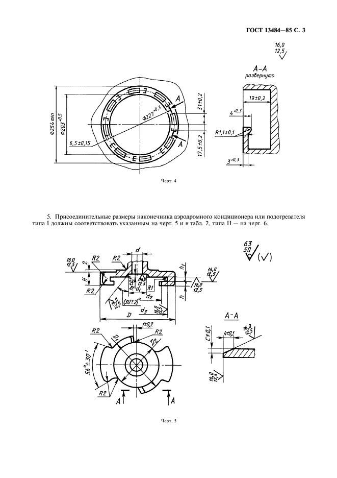
Область применения:Настоящий стандарт распространяется на соединения бортовых штуцеров с наконечниками аэродромных кондиционеров и подогревателей, предназначенных для нагнетания охлажденного или подогретого воздуха в кабины, салоны и отсеки самолетов и вертолетов, в защитное снаряжение экипажей и мотогондолы двигателей
Список изменений:№1 от 01.01.1990 (рег. 24.03.1989) «Поправка»
ГОСТ 13484-85ГОСТ 13484-85ГОСТ 13484-85ГОСТ 13484-85ГОСТ 13484-85ГОСТ 13484-85ГОСТ 13484-85
 




ГОСТЫ, СТРОИТЕЛЬНЫЕ и ТЕХНИЧЕСКИЕ НОРМАТИВЫ.
Некоммерческая онлайн система, содержащая все Российские Госты, национальные Стандарты и нормативы.
В Системе содержится более 150000 файлов нормативно-технической документации, действующей на территории РФ.
Система предназначена для широкого круга инженерно-технических специалистов.

Рейтинг@Mail.ru Яндекс цитирования

Copyright © www.gostrf.com, 2008 - 2026