Крупнейшая бесплатная информационно-справочная система онлайн доступа к полному собранию технических нормативно-правовых актов РФ. Огромная база технических нормативов (более 150 тысяч документов) и полное собрание национальных стандартов, аутентичное официальной базе Госстандарта. GOSTRF.com - это более 1 Терабайта бесплатной технической информации для всех пользователей интернета. Все электронные копии представленных здесь документов могут распространяться без каких-либо ограничений. Поощряется распространение информации с этого сайта на любых других ресурсах. Каждый человек имеет право на неограниченный доступ к этим документам! Каждый человек имеет право на знание требований, изложенных в данных нормативно-правовых актах!

  


 

ГОСТ 25660-83

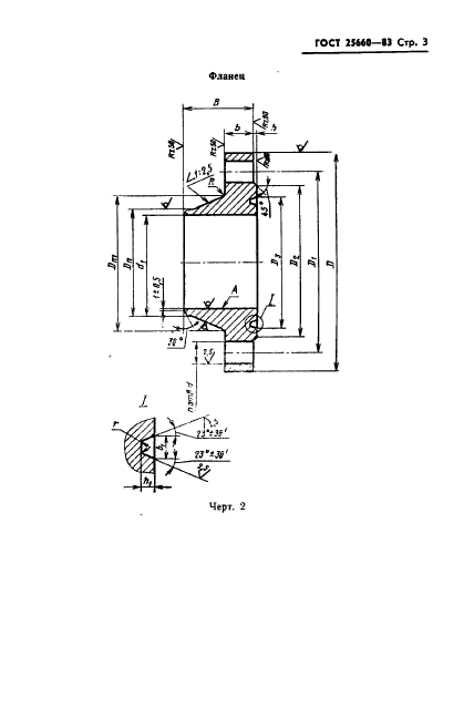
Фланцы изолирующие для подводных трубопроводов на Ру 10,0 МПа (около 100 кгс/см кв.). Конструкция

Обозначение:ГОСТ 25660-83
Текущий статус документа: действующий
Название документа рус.:Фланцы изолирующие для подводных трубопроводов на Ру 10,0 МПа (около 100 кгс/см кв.). Конструкция
Название документа англ.:Underwater pipeline sealing flanges 10,0 MPa (100 kgf/sq sm). Design
Дата актуализации текста:01.12.2013
Дата издания:13.05.1983
Дата введения:30.06.1984
Дата последнего изменения:22.05.2013
Область применения:Настоящий стандарт распространяется на стальные приварные встык фланцы под прокладки и втулки иэ электроизоляционного материала
Список изменений:№0 от 05.12.1988 (рег. 05.12.1988) «Срок действия продлен»
№1 от 01.01.1991 (рег. 12.04.1990) «Поправка»
ГОСТ 25660-83ГОСТ 25660-83ГОСТ 25660-83ГОСТ 25660-83ГОСТ 25660-83ГОСТ 25660-83ГОСТ 25660-83ГОСТ 25660-83ГОСТ 25660-83ГОСТ 25660-83ГОСТ 25660-83ГОСТ 25660-83ГОСТ 25660-83ГОСТ 25660-83
 




ГОСТЫ, СТРОИТЕЛЬНЫЕ и ТЕХНИЧЕСКИЕ НОРМАТИВЫ.
Некоммерческая онлайн система, содержащая все Российские Госты, национальные Стандарты и нормативы.
В Системе содержится более 150000 файлов нормативно-технической документации, действующей на территории РФ.
Система предназначена для широкого круга инженерно-технических специалистов.

Рейтинг@Mail.ru Яндекс цитирования

Copyright © www.gostrf.com, 2008 - 2026