Крупнейшая бесплатная информационно-справочная система онлайн доступа к полному собранию технических нормативно-правовых актов РФ. Огромная база технических нормативов (более 150 тысяч документов) и полное собрание национальных стандартов, аутентичное официальной базе Госстандарта. GOSTRF.com - это более 1 Терабайта бесплатной технической информации для всех пользователей интернета. Все электронные копии представленных здесь документов могут распространяться без каких-либо ограничений. Поощряется распространение информации с этого сайта на любых других ресурсах. Каждый человек имеет право на неограниченный доступ к этим документам! Каждый человек имеет право на знание требований, изложенных в данных нормативно-правовых актах!

  


 

ГОСТ 8.490-83

Государственная система обеспечения единства измерений. Приборы для измерения межосевого расстояния зубчатых колес. Методика поверки

Обозначение:ГОСТ 8.490-83
Текущий статус документа: действующий
Название документа рус.:Государственная система обеспечения единства измерений. Приборы для измерения межосевого расстояния зубчатых колес. Методика поверки
Название документа англ.:State system for ensuring the uniformity of measurements. Instruments for measurements of gear interaxial distance. Methods of verification
Дата актуализации текста:01.12.2013
Дата издания:01.10.1986
Дата введения:30.06.1984
Дата последнего изменения:22.05.2013
Переиздание:переиздание с изм. 1
Взамен:МУ 338 МУ 339 МУ 340
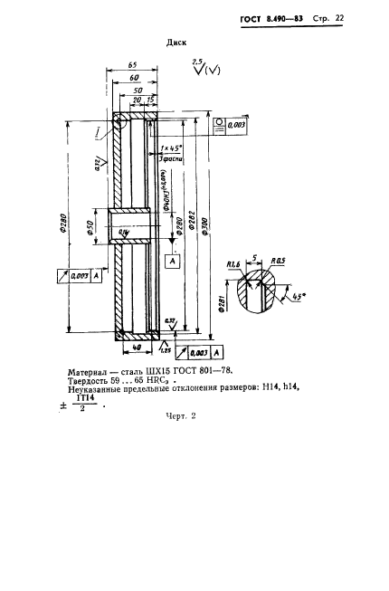
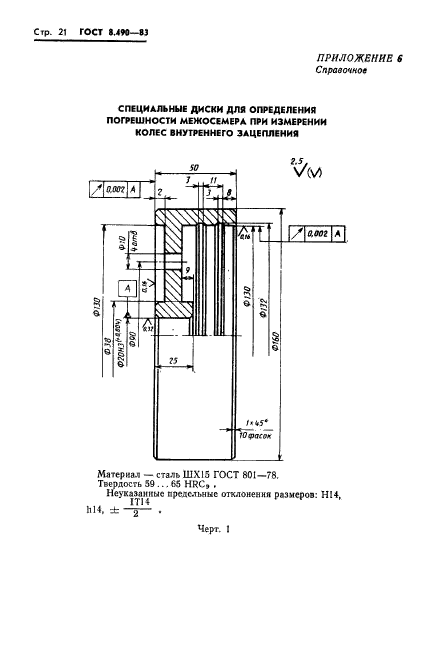
Область применения:Настоящий стандарт распространяется на приборы для измерения межосевого расстояния зубчатых колес (далее - межосемеры) типоразмеров S01, S02 и S01 (по ГОСТ 10387-81 и ГОСТ 5368-81) и устанавливает методику их первичной и периодической поверок
Список изменений:№1 от 01.01.1987 (рег. 29.10.1986) «Поправка»
ГОСТ 8.490-83ГОСТ 8.490-83ГОСТ 8.490-83ГОСТ 8.490-83ГОСТ 8.490-83ГОСТ 8.490-83ГОСТ 8.490-83ГОСТ 8.490-83ГОСТ 8.490-83ГОСТ 8.490-83ГОСТ 8.490-83ГОСТ 8.490-83ГОСТ 8.490-83ГОСТ 8.490-83ГОСТ 8.490-83ГОСТ 8.490-83ГОСТ 8.490-83ГОСТ 8.490-83ГОСТ 8.490-83ГОСТ 8.490-83ГОСТ 8.490-83ГОСТ 8.490-83ГОСТ 8.490-83ГОСТ 8.490-83
 




ГОСТЫ, СТРОИТЕЛЬНЫЕ и ТЕХНИЧЕСКИЕ НОРМАТИВЫ.
Некоммерческая онлайн система, содержащая все Российские Госты, национальные Стандарты и нормативы.
В Системе содержится более 150000 файлов нормативно-технической документации, действующей на территории РФ.
Система предназначена для широкого круга инженерно-технических специалистов.

Рейтинг@Mail.ru Яндекс цитирования

Copyright © www.gostrf.com, 2008 - 2026