Крупнейшая бесплатная информационно-справочная система онлайн доступа к полному собранию технических нормативно-правовых актов РФ. Огромная база технических нормативов (более 150 тысяч документов) и полное собрание национальных стандартов, аутентичное официальной базе Госстандарта. GOSTRF.com - это более 1 Терабайта бесплатной технической информации для всех пользователей интернета. Все электронные копии представленных здесь документов могут распространяться без каких-либо ограничений. Поощряется распространение информации с этого сайта на любых других ресурсах. Каждый человек имеет право на неограниченный доступ к этим документам! Каждый человек имеет право на знание требований, изложенных в данных нормативно-правовых актах!

  


 

ГОСТ 22782.7-81

Электрооборудование взрывозащищенное с защитой вида "е". Технические требования и методы испытаний

Обозначение:ГОСТ 22782.7-81
Текущий статус документа: действующий
Название документа рус.:Электрооборудование взрывозащищенное с защитой вида "е". Технические требования и методы испытаний
Название документа англ.:Explosionproof electrical apparatus. Type of protection "e". Technical requirements and methods of testing
Дата актуализации текста:01.12.2013
Дата издания:01.10.1993
Дата введения:30.06.1982
Дата последнего изменения:22.05.2013
Переиздание:переиздание с изм. 1
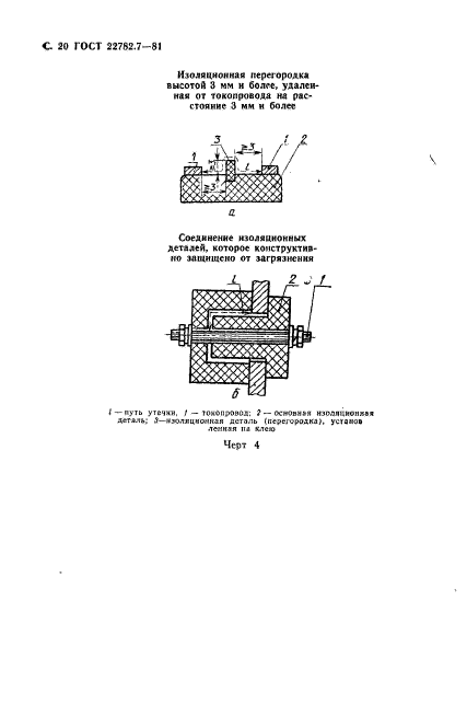
Область применения:Настоящий стандарт распространяется на взрывозащищенное электрооборудование (электротехнические устройства) групп I и II по ГОСТ 12.2.020-76 с защитой вида “е“. Стандарт устанавливает технические требования и методы испытаний по обеспечению взрывозащиты электрооборудования.
Стандарт не распространяется на кабели и провода
Список изменений:№0 от 01.01.2001 (рег. 16.12.1999) «Поправка к изменению»
№0 от 10.07.2001 (рег. 10.07.2001) «Восстановлен на территории РФ»
№0 от 01.01.2003 (рег. 10.07.2001) «Поправка к изменению»
№0 от 21.01.2003 (рег. 21.01.2003) «Текстовое изменение; Изменено обозначение; Изменено заглавие»
№1 от 01.01.1983 (рег. 03.03.1982) «Срок действия продлен»
№2 от 01.07.1984 (рег. 20.03.1984) «Срок действия продлен»
№3 от 01.09.1987 (рег. 20.04.1987) «Срок действия продлен»
ГОСТ 22782.7-81ГОСТ 22782.7-81ГОСТ 22782.7-81ГОСТ 22782.7-81ГОСТ 22782.7-81ГОСТ 22782.7-81ГОСТ 22782.7-81ГОСТ 22782.7-81ГОСТ 22782.7-81ГОСТ 22782.7-81ГОСТ 22782.7-81ГОСТ 22782.7-81ГОСТ 22782.7-81ГОСТ 22782.7-81ГОСТ 22782.7-81ГОСТ 22782.7-81ГОСТ 22782.7-81ГОСТ 22782.7-81ГОСТ 22782.7-81ГОСТ 22782.7-81ГОСТ 22782.7-81ГОСТ 22782.7-81ГОСТ 22782.7-81ГОСТ 22782.7-81ГОСТ 22782.7-81ГОСТ 22782.7-81ГОСТ 22782.7-81
 




ГОСТЫ, СТРОИТЕЛЬНЫЕ и ТЕХНИЧЕСКИЕ НОРМАТИВЫ.
Некоммерческая онлайн система, содержащая все Российские Госты, национальные Стандарты и нормативы.
В Системе содержится более 150000 файлов нормативно-технической документации, действующей на территории РФ.
Система предназначена для широкого круга инженерно-технических специалистов.

Рейтинг@Mail.ru Яндекс цитирования

Copyright © www.gostrf.com, 2008 - 2026