Крупнейшая бесплатная информационно-справочная система онлайн доступа к полному собранию технических нормативно-правовых актов РФ. Огромная база технических нормативов (более 150 тысяч документов) и полное собрание национальных стандартов, аутентичное официальной базе Госстандарта. GOSTRF.com - это более 1 Терабайта бесплатной технической информации для всех пользователей интернета. Все электронные копии представленных здесь документов могут распространяться без каких-либо ограничений. Поощряется распространение информации с этого сайта на любых других ресурсах. Каждый человек имеет право на неограниченный доступ к этим документам! Каждый человек имеет право на знание требований, изложенных в данных нормативно-правовых актах!

  


 

ГОСТ 24694-81

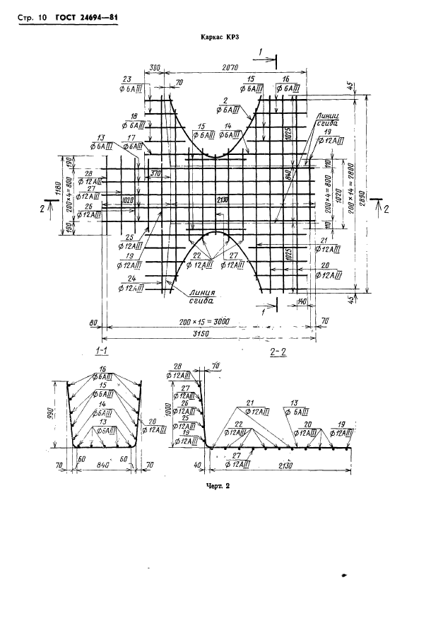
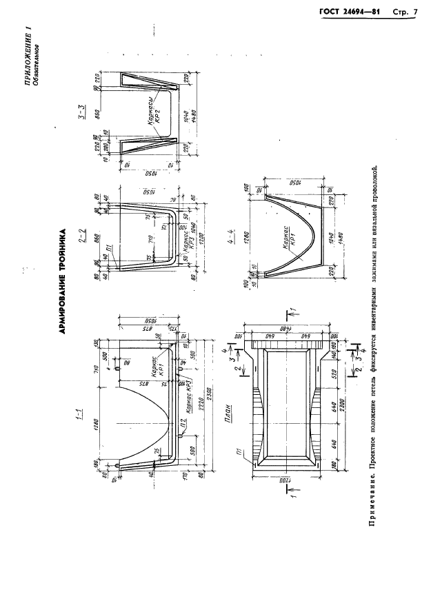
Тройник железобетонный лотковых оросительных систем. Технические условия

Обозначение:ГОСТ 24694-81
Текущий статус документа: действующий
Название документа рус.:Тройник железобетонный лотковых оросительных систем. Технические условия
Название документа англ.:Reinforced concrete T-joint of flumed irrigation systems. Specifications
Дата актуализации текста:01.12.2013
Дата издания:18.08.1981
Дата введения:01.01.1982
Дата последнего изменения:22.05.2013
Область применения:Настоящий стандарт распространяется на железобетонные тройники из тяжелого бетона, предназначенные для устройства вододелителей на распределительных каналах оросительных систем с уклонами меньше критических, сооружаемых из железобетонных раструбных лотков параболического сечения высотой 400, 600 и 800 мм.
Настоящий стандарт не распространяется на тройники вододелителей распределительных каналов оросительных систем, сооружаемых в районах с сейсмичностью более 8 баллов
ГОСТ 24694-81ГОСТ 24694-81ГОСТ 24694-81ГОСТ 24694-81ГОСТ 24694-81ГОСТ 24694-81ГОСТ 24694-81ГОСТ 24694-81ГОСТ 24694-81ГОСТ 24694-81ГОСТ 24694-81ГОСТ 24694-81ГОСТ 24694-81ГОСТ 24694-81
 




ГОСТЫ, СТРОИТЕЛЬНЫЕ и ТЕХНИЧЕСКИЕ НОРМАТИВЫ.
Некоммерческая онлайн система, содержащая все Российские Госты, национальные Стандарты и нормативы.
В Системе содержится более 150000 файлов нормативно-технической документации, действующей на территории РФ.
Система предназначена для широкого круга инженерно-технических специалистов.

Рейтинг@Mail.ru Яндекс цитирования

Copyright © www.gostrf.com, 2008 - 2026