Крупнейшая бесплатная информационно-справочная система онлайн доступа к полному собранию технических нормативно-правовых актов РФ. Огромная база технических нормативов (более 150 тысяч документов) и полное собрание национальных стандартов, аутентичное официальной базе Госстандарта. GOSTRF.com - это более 1 Терабайта бесплатной технической информации для всех пользователей интернета. Все электронные копии представленных здесь документов могут распространяться без каких-либо ограничений. Поощряется распространение информации с этого сайта на любых других ресурсах. Каждый человек имеет право на неограниченный доступ к этим документам! Каждый человек имеет право на знание требований, изложенных в данных нормативно-правовых актах!

  


 

ГОСТ 24998-81

Калибры для конической резьбы вентилей и баллонов для газов. Допуски

Обозначение:ГОСТ 24998-81
Текущий статус документа: действующий
Название документа рус.:Калибры для конической резьбы вентилей и баллонов для газов. Допуски
Название документа англ.:Gauges for tapes thread of valves and gas-bags. Tolerances
Дата актуализации текста:01.12.2013
Дата издания:01.07.2003
Дата введения:01.01.1983
Дата последнего изменения:22.05.2013
Переиздание:переиздание с изм. 1
Взамен в части: в части калибров
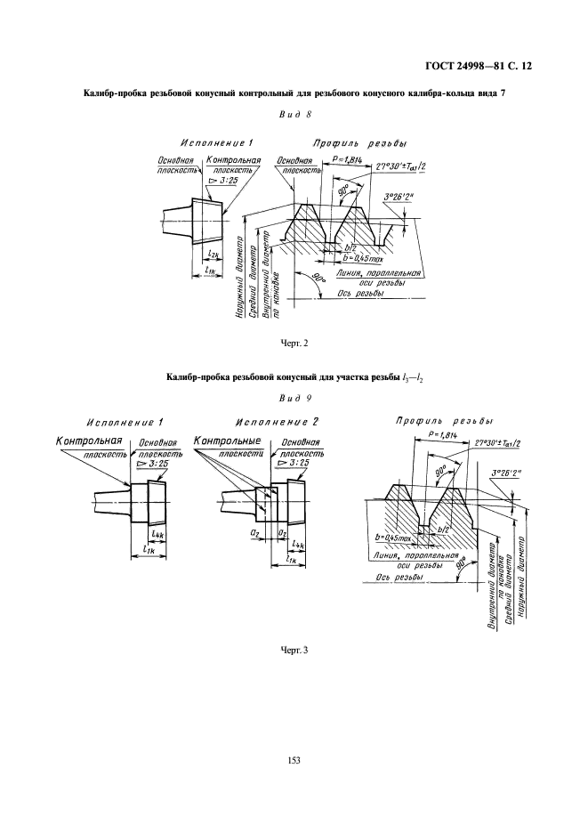
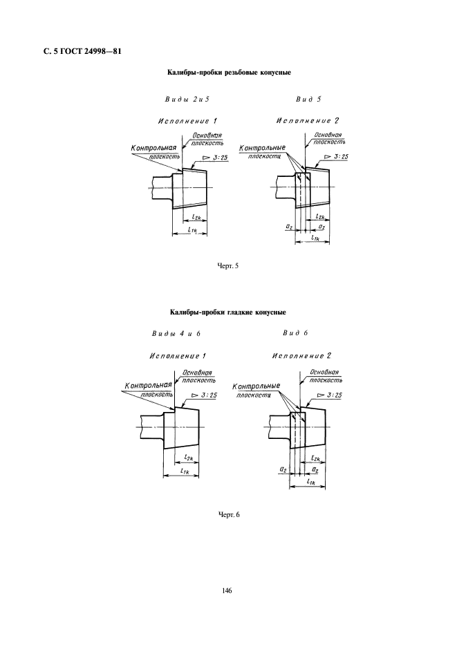
Область применения:Настоящий стандарт распространяется на резьбовые и гладкие калибры для конической резьбы вентилей и баллонов для газов и устанавливает виды калибров, профиль, длину рабочей части, допуски и формулы для расчета размеров резьбовых и гладких калибров
Список изменений:№1 от 01.01.1991 (рег. 22.02.1990) «Срок действия продлен»
ГОСТ 24998-81ГОСТ 24998-81ГОСТ 24998-81ГОСТ 24998-81ГОСТ 24998-81ГОСТ 24998-81ГОСТ 24998-81ГОСТ 24998-81ГОСТ 24998-81ГОСТ 24998-81ГОСТ 24998-81ГОСТ 24998-81ГОСТ 24998-81
 




ГОСТЫ, СТРОИТЕЛЬНЫЕ и ТЕХНИЧЕСКИЕ НОРМАТИВЫ.
Некоммерческая онлайн система, содержащая все Российские Госты, национальные Стандарты и нормативы.
В Системе содержится более 150000 файлов нормативно-технической документации, действующей на территории РФ.
Система предназначена для широкого круга инженерно-технических специалистов.

Рейтинг@Mail.ru Яндекс цитирования

Copyright © www.gostrf.com, 2008 - 2026