Крупнейшая бесплатная информационно-справочная система онлайн доступа к полному собранию технических нормативно-правовых актов РФ. Огромная база технических нормативов (более 150 тысяч документов) и полное собрание национальных стандартов, аутентичное официальной базе Госстандарта. GOSTRF.com - это более 1 Терабайта бесплатной технической информации для всех пользователей интернета. Все электронные копии представленных здесь документов могут распространяться без каких-либо ограничений. Поощряется распространение информации с этого сайта на любых других ресурсах. Каждый человек имеет право на неограниченный доступ к этим документам! Каждый человек имеет право на знание требований, изложенных в данных нормативно-правовых актах!

  


 

ГОСТ 24110-80

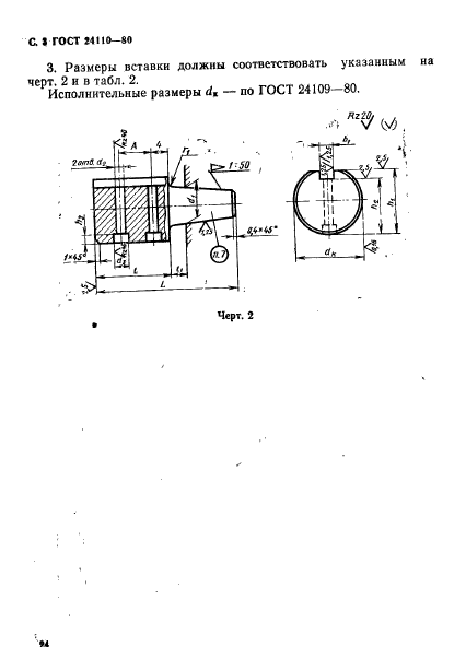
Калибры-пробки шпоночные диаметром от 9 до 18 мм. Конструкция и размеры

Обозначение:ГОСТ 24110-80
Текущий статус документа: действующий
Название документа рус.:Калибры-пробки шпоночные диаметром от 9 до 18 мм. Конструкция и размеры
Название документа англ.:Keyway plug gauges with diameter from 9 to 18 mm. Design and dimensions
Дата актуализации текста:01.12.2013
Дата издания:01.07.1993
Дата введения:01.01.1981
Дата последнего изменения:22.05.2013
Переиздание:переиздание с изм. 1
Область применения:Настоящий стандарт распространяется на комплексные калибры-пробки для контроля шпоночных пазов во втулках по ГОСТ 23360-78, ГОСТ 24068-80 и ГОСТ 24071-80
Список изменений:№1 от 01.07.1984 (рег. 20.12.1983) «Срок действия продлен»
ГОСТ 24110-80ГОСТ 24110-80ГОСТ 24110-80ГОСТ 24110-80ГОСТ 24110-80ГОСТ 24110-80ГОСТ 24110-80ГОСТ 24110-80ГОСТ 24110-80
 




ГОСТЫ, СТРОИТЕЛЬНЫЕ и ТЕХНИЧЕСКИЕ НОРМАТИВЫ.
Некоммерческая онлайн система, содержащая все Российские Госты, национальные Стандарты и нормативы.
В Системе содержится более 150000 файлов нормативно-технической документации, действующей на территории РФ.
Система предназначена для широкого круга инженерно-технических специалистов.

Рейтинг@Mail.ru Яндекс цитирования

Copyright © www.gostrf.com, 2008 - 2026