Крупнейшая бесплатная информационно-справочная система онлайн доступа к полному собранию технических нормативно-правовых актов РФ. Огромная база технических нормативов (более 150 тысяч документов) и полное собрание национальных стандартов, аутентичное официальной базе Госстандарта. GOSTRF.com - это более 1 Терабайта бесплатной технической информации для всех пользователей интернета. Все электронные копии представленных здесь документов могут распространяться без каких-либо ограничений. Поощряется распространение информации с этого сайта на любых других ресурсах. Каждый человек имеет право на неограниченный доступ к этим документам! Каждый человек имеет право на знание требований, изложенных в данных нормативно-правовых актах!

  


 

ГОСТ 8050-85

Двуокись углерода газообразная и жидкая. Технические условия

Обозначение:ГОСТ 8050-85
Текущий статус документа: действующий
Название документа рус.:Двуокись углерода газообразная и жидкая. Технические условия
Название документа англ.:Gaseous and liquid carbon dioxide. Specifications
Дата актуализации текста:01.12.2013
Дата издания:01.03.2006
Дата введения:01.01.1987
Дата последнего изменения:22.05.2013
Переиздание:переиздание с изм. 1
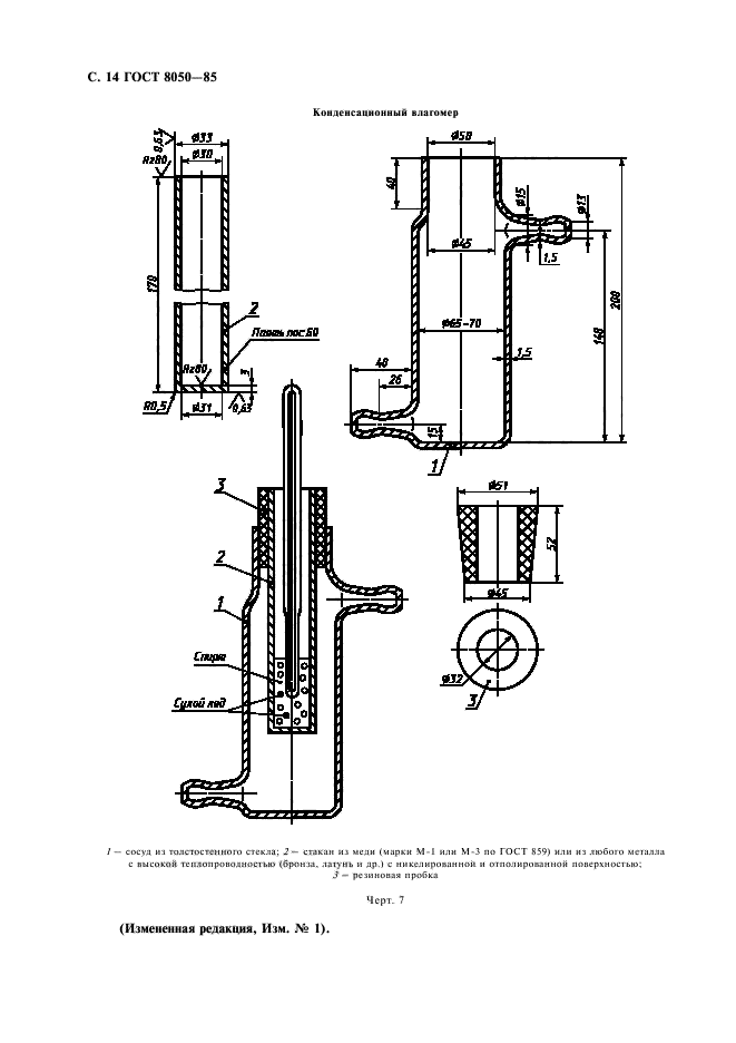
Область применения:Настоящий стандарт распространяется на газообразную и жидкую двуокись углерода (диоксид углерода, углекислый газ) высокого давления и низкотемпературную, получаемую из отбросных газов производств аммиака, спиртов, а также на базе специального сжигания топлива и других производств. Двуокись углерода выпускается жидкая низкотемпературная, жидкая высокого давления и газообразная
Список изменений:№0 от 21.06.2011 (рег. 21.06.2011) «Дата введения перенесена»
№1 от 01.04.1992 (рег. 25.10.1991) «Срок действия продлен»
№2 от 01.07.1996 (рег. 04.04.1996) «Срок действия продлен»
Приложение №1:Поправка к ГОСТ 8050-85
ГОСТ 8050-85ГОСТ 8050-85ГОСТ 8050-85ГОСТ 8050-85ГОСТ 8050-85ГОСТ 8050-85ГОСТ 8050-85ГОСТ 8050-85ГОСТ 8050-85ГОСТ 8050-85ГОСТ 8050-85ГОСТ 8050-85ГОСТ 8050-85ГОСТ 8050-85ГОСТ 8050-85ГОСТ 8050-85ГОСТ 8050-85ГОСТ 8050-85ГОСТ 8050-85ГОСТ 8050-85ГОСТ 8050-85ГОСТ 8050-85ГОСТ 8050-85ГОСТ 8050-85ГОСТ 8050-85

Поправка к ГОСТ 8050-85

Обозначение:Поправка к ГОСТ 8050-85
Дата введения:21.06.2011


Поправка к ГОСТ 8050-85
 




ГОСТЫ, СТРОИТЕЛЬНЫЕ и ТЕХНИЧЕСКИЕ НОРМАТИВЫ.
Некоммерческая онлайн система, содержащая все Российские Госты, национальные Стандарты и нормативы.
В Системе содержится более 150000 файлов нормативно-технической документации, действующей на территории РФ.
Система предназначена для широкого круга инженерно-технических специалистов.

Рейтинг@Mail.ru Яндекс цитирования

Copyright © www.gostrf.com, 2008 - 2026