Крупнейшая бесплатная информационно-справочная система онлайн доступа к полному собранию технических нормативно-правовых актов РФ. Огромная база технических нормативов (более 150 тысяч документов) и полное собрание национальных стандартов, аутентичное официальной базе Госстандарта. GOSTRF.com - это более 1 Терабайта бесплатной технической информации для всех пользователей интернета. Все электронные копии представленных здесь документов могут распространяться без каких-либо ограничений. Поощряется распространение информации с этого сайта на любых других ресурсах. Каждый человек имеет право на неограниченный доступ к этим документам! Каждый человек имеет право на знание требований, изложенных в данных нормативно-правовых актах!

  


 

ГОСТ Р 52503-2005

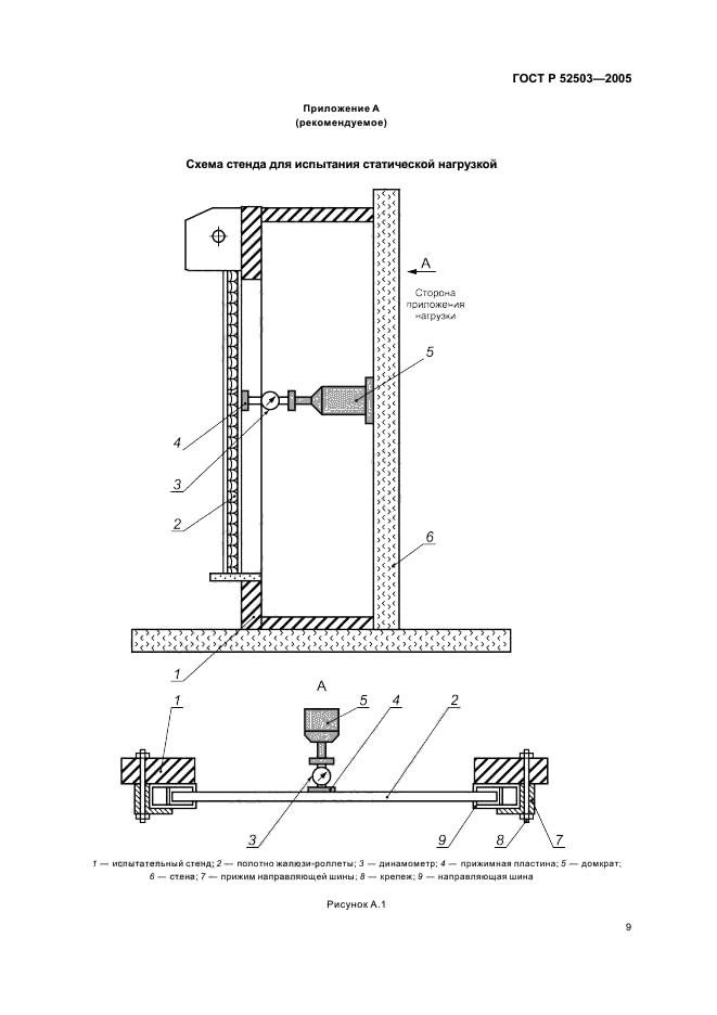
Жалюзи-роллеты. Методы испытаний на устойчивость к взлому и пулестойкость

Обозначение:ГОСТ Р 52503-2005
Текущий статус документа: действующий
Название документа рус.:Жалюзи-роллеты. Методы испытаний на устойчивость к взлому и пулестойкость
Название документа англ.:Venetian blinds-rollets. Methods of testing for resistance to burglary and bullet-proofing
Дата актуализации текста:01.12.2013
Дата издания:01.03.2008
Дата введения:31.08.2006
Дата последнего изменения:22.05.2013
Переиздание:переиздание
Область применения:Настоящий стандарт распространяется на вновь разрабатываемые и модернизируемые защитные жалюзи-роллеты по ГОСТ Р 52502.
Настоящий стандарт не распространяется на защитные жалюзи по ГОСТ Р 51222; конструкции: противопожарные; ограждений открытых территорий; предназначенные для объектов военного и (или) оборонного значения, а также для специальных промышленных производств
ГОСТ Р 52503-2005ГОСТ Р 52503-2005ГОСТ Р 52503-2005ГОСТ Р 52503-2005ГОСТ Р 52503-2005ГОСТ Р 52503-2005ГОСТ Р 52503-2005ГОСТ Р 52503-2005ГОСТ Р 52503-2005ГОСТ Р 52503-2005ГОСТ Р 52503-2005ГОСТ Р 52503-2005ГОСТ Р 52503-2005ГОСТ Р 52503-2005ГОСТ Р 52503-2005ГОСТ Р 52503-2005ГОСТ Р 52503-2005ГОСТ Р 52503-2005ГОСТ Р 52503-2005ГОСТ Р 52503-2005ГОСТ Р 52503-2005ГОСТ Р 52503-2005ГОСТ Р 52503-2005
 




ГОСТЫ, СТРОИТЕЛЬНЫЕ и ТЕХНИЧЕСКИЕ НОРМАТИВЫ.
Некоммерческая онлайн система, содержащая все Российские Госты, национальные Стандарты и нормативы.
В Системе содержится более 150000 файлов нормативно-технической документации, действующей на территории РФ.
Система предназначена для широкого круга инженерно-технических специалистов.

Рейтинг@Mail.ru Яндекс цитирования

Copyright © www.gostrf.com, 2008 - 2026