Крупнейшая бесплатная информационно-справочная система онлайн доступа к полному собранию технических нормативно-правовых актов РФ. Огромная база технических нормативов (более 150 тысяч документов) и полное собрание национальных стандартов, аутентичное официальной базе Госстандарта. GOSTRF.com - это более 1 Терабайта бесплатной технической информации для всех пользователей интернета. Все электронные копии представленных здесь документов могут распространяться без каких-либо ограничений. Поощряется распространение информации с этого сайта на любых других ресурсах. Каждый человек имеет право на неограниченный доступ к этим документам! Каждый человек имеет право на знание требований, изложенных в данных нормативно-правовых актах!

  


 

ГОСТ Р 51685-2000

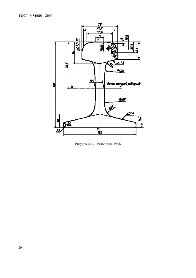
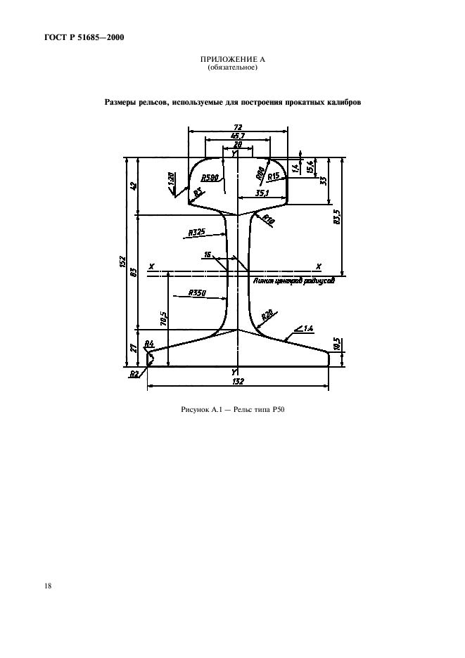
Рельсы железнодорожные. Общие технические условия

Обозначение:ГОСТ Р 51685-2000
Текущий статус документа: действующий
Название документа рус.:Рельсы железнодорожные. Общие технические условия
Название документа англ.:Railway rails. General specifications
Дата актуализации текста:01.12.2013
Дата издания:01.03.2006
Дата введения:01.11.2010
Дата последнего изменения:21.11.2013
Дата окончания срока действия:01.07.2014
Переиздание:переиздание с поправкой и изм. 1
Область применения:Настоящий стандарт распространяется на железнодорожные рельсы, предназначенные для звеньевого и бесстыкового пути железных дорог и для производства стрелочных переводов
Список изменений:№0 от 15.09.2001 (рег. 15.09.2001) «Дата введения перенесена»
№1 от 01.10.2005 (рег. 19.04.2005) «Срок действия продлен»
№2 от 01.11.2010 (рег. 12.10.2010) «Срок действия продлен»
Приложение №1:Изменение №1 к ГОСТ Р 51685-2000
Приложение №2:Изменение №2 к ГОСТ Р 51685-2000
Приложение №3:Поправка к ГОСТ Р 51685-2000
ГОСТ Р 51685-2000ГОСТ Р 51685-2000ГОСТ Р 51685-2000ГОСТ Р 51685-2000ГОСТ Р 51685-2000ГОСТ Р 51685-2000ГОСТ Р 51685-2000ГОСТ Р 51685-2000ГОСТ Р 51685-2000ГОСТ Р 51685-2000ГОСТ Р 51685-2000ГОСТ Р 51685-2000ГОСТ Р 51685-2000ГОСТ Р 51685-2000ГОСТ Р 51685-2000ГОСТ Р 51685-2000ГОСТ Р 51685-2000ГОСТ Р 51685-2000ГОСТ Р 51685-2000ГОСТ Р 51685-2000ГОСТ Р 51685-2000ГОСТ Р 51685-2000ГОСТ Р 51685-2000ГОСТ Р 51685-2000ГОСТ Р 51685-2000ГОСТ Р 51685-2000ГОСТ Р 51685-2000ГОСТ Р 51685-2000ГОСТ Р 51685-2000ГОСТ Р 51685-2000ГОСТ Р 51685-2000

Изменение №1 к ГОСТ Р 51685-2000

Обозначение:Изменение №1 к ГОСТ Р 51685-2000
Дата введения:01.10.2005


Изменение №1 к ГОСТ Р 51685-2000Изменение №1 к ГОСТ Р 51685-2000Изменение №1 к ГОСТ Р 51685-2000

Изменение №2 к ГОСТ Р 51685-2000

Обозначение:Изменение №2 к ГОСТ Р 51685-2000
Дата введения:01.11.2010


Изменение №2 к ГОСТ Р 51685-2000Изменение №2 к ГОСТ Р 51685-2000Изменение №2 к ГОСТ Р 51685-2000Изменение №2 к ГОСТ Р 51685-2000

Поправка к ГОСТ Р 51685-2000

Обозначение:Поправка к ГОСТ Р 51685-2000
Дата введения:15.09.2001


Поправка к ГОСТ Р 51685-2000
 




ГОСТЫ, СТРОИТЕЛЬНЫЕ и ТЕХНИЧЕСКИЕ НОРМАТИВЫ.
Некоммерческая онлайн система, содержащая все Российские Госты, национальные Стандарты и нормативы.
В Системе содержится более 150000 файлов нормативно-технической документации, действующей на территории РФ.
Система предназначена для широкого круга инженерно-технических специалистов.

Рейтинг@Mail.ru Яндекс цитирования

Copyright © www.gostrf.com, 2008 - 2026