Крупнейшая бесплатная информационно-справочная система онлайн доступа к полному собранию технических нормативно-правовых актов РФ. Огромная база технических нормативов (более 150 тысяч документов) и полное собрание национальных стандартов, аутентичное официальной базе Госстандарта. GOSTRF.com - это более 1 Терабайта бесплатной технической информации для всех пользователей интернета. Все электронные копии представленных здесь документов могут распространяться без каких-либо ограничений. Поощряется распространение информации с этого сайта на любых других ресурсах. Каждый человек имеет право на неограниченный доступ к этим документам! Каждый человек имеет право на знание требований, изложенных в данных нормативно-правовых актах!

  


 

ГОСТ Р 51204-98

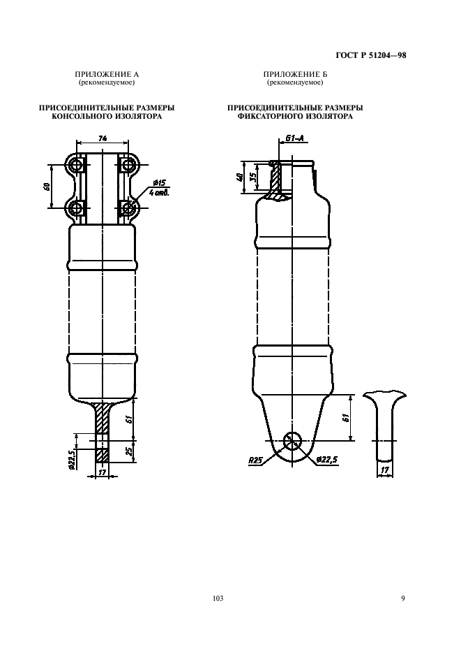
Изоляторы стержневые полимерные для контактной сети железных дорог. Общие технические условия

Обозначение:ГОСТ Р 51204-98
Текущий статус документа: действующий
Название документа рус.:Изоляторы стержневые полимерные для контактной сети железных дорог. Общие технические условия
Название документа англ.:Rod polymeric insulators for contact net of railways. General specifications
Дата актуализации текста:01.12.2013
Дата издания:01.06.2005
Дата введения:30.06.1999
Дата последнего изменения:21.11.2013
Дата окончания срока действия:01.07.2014
Переиздание:переиздание
Область применения:Настоящий стандарт распространяется на полимерные изоляторы, предназначенные для изоляции и крепления устройств контактной сети железных дорог переменного тока напряжением 25 кВ частотой до 100 Гц и постоянного тока напряжением 3 кВ в атмосфере с различной степенью загрязненности.
Изоляторы должны выпускаться в климатическом исполнении УХЛ, категории размещения 1 по ГОСТ 15150 и отвечать требованиям ГОСТ 15543.1.
Температура поверхности изоляторов в процессе эксплуатации - от плюс 70 до минус 60 град. С
ГОСТ Р 51204-98ГОСТ Р 51204-98ГОСТ Р 51204-98ГОСТ Р 51204-98ГОСТ Р 51204-98ГОСТ Р 51204-98ГОСТ Р 51204-98ГОСТ Р 51204-98ГОСТ Р 51204-98ГОСТ Р 51204-98ГОСТ Р 51204-98ГОСТ Р 51204-98
 




ГОСТЫ, СТРОИТЕЛЬНЫЕ и ТЕХНИЧЕСКИЕ НОРМАТИВЫ.
Некоммерческая онлайн система, содержащая все Российские Госты, национальные Стандарты и нормативы.
В Системе содержится более 150000 файлов нормативно-технической документации, действующей на территории РФ.
Система предназначена для широкого круга инженерно-технических специалистов.

Рейтинг@Mail.ru Яндекс цитирования

Copyright © www.gostrf.com, 2008 - 2026