Крупнейшая бесплатная информационно-справочная система онлайн доступа к полному собранию технических нормативно-правовых актов РФ. Огромная база технических нормативов (более 150 тысяч документов) и полное собрание национальных стандартов, аутентичное официальной базе Госстандарта. GOSTRF.com - это более 1 Терабайта бесплатной технической информации для всех пользователей интернета. Все электронные копии представленных здесь документов могут распространяться без каких-либо ограничений. Поощряется распространение информации с этого сайта на любых других ресурсах. Каждый человек имеет право на неограниченный доступ к этим документам! Каждый человек имеет право на знание требований, изложенных в данных нормативно-правовых актах!

  


 

ГОСТ 17314-81

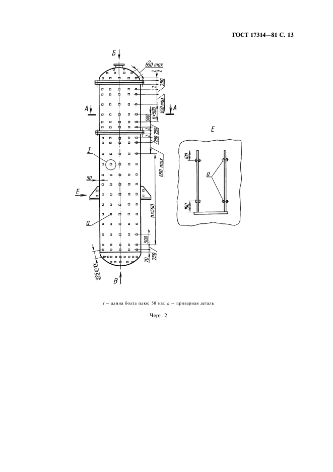
Устройства для крепления тепловой изоляции стальных сосудов и аппаратов. Конструкция и размеры. Технические требования

Обозначение:ГОСТ 17314-81
Текущий статус документа: действующий
Название документа рус.:Устройства для крепления тепловой изоляции стальных сосудов и аппаратов. Конструкция и размеры. Технические требования
Название документа англ.:Arrangements for fostening heat insulation of steel vessels and apparatus. Construction and dimensions. Technical requirements
Дата актуализации текста:01.12.2013
Дата издания:01.12.2004
Дата введения:01.01.1982
Дата последнего изменения:22.05.2013
Переиздание:переиздание с изм. 1
Область применения:Настоящий стандарт распространяется на устройства для крепления наружной тепловой изоляции и их размещения на стальных стационарных сосудах и аппаратах с температурой вещества в объектах от минус 100 до плюс 600 град. С включительно, диаметром не менее 500 мм, с криволинейными или плоскими поверхностями, применяемые в химической, нефтехимической, нефтеперерабатывающей, энергетической и других отраслях промышленности.
Стандарт не распространяется на устройства, применяемые для резервуаров, изготовляемых способом рулонирования, и сферических резервуаров
Список изменений:№0 от 18.06.1987 (рег. 18.06.1987) «Срок действия продлен»
№1 от 01.01.1987 (рег. 19.12.1986) «Срок действия продлен»
№2 от 01.01.1990 (рег. 23.06.1989) «Срок действия продлен»
ГОСТ 17314-81ГОСТ 17314-81ГОСТ 17314-81ГОСТ 17314-81ГОСТ 17314-81ГОСТ 17314-81ГОСТ 17314-81ГОСТ 17314-81ГОСТ 17314-81ГОСТ 17314-81ГОСТ 17314-81ГОСТ 17314-81ГОСТ 17314-81ГОСТ 17314-81ГОСТ 17314-81ГОСТ 17314-81ГОСТ 17314-81ГОСТ 17314-81ГОСТ 17314-81ГОСТ 17314-81ГОСТ 17314-81ГОСТ 17314-81ГОСТ 17314-81ГОСТ 17314-81ГОСТ 17314-81ГОСТ 17314-81
 




ГОСТЫ, СТРОИТЕЛЬНЫЕ и ТЕХНИЧЕСКИЕ НОРМАТИВЫ.
Некоммерческая онлайн система, содержащая все Российские Госты, национальные Стандарты и нормативы.
В Системе содержится более 150000 файлов нормативно-технической документации, действующей на территории РФ.
Система предназначена для широкого круга инженерно-технических специалистов.

Рейтинг@Mail.ru Яндекс цитирования

Copyright © www.gostrf.com, 2008 - 2026