Крупнейшая бесплатная информационно-справочная система онлайн доступа к полному собранию технических нормативно-правовых актов РФ. Огромная база технических нормативов (более 150 тысяч документов) и полное собрание национальных стандартов, аутентичное официальной базе Госстандарта. GOSTRF.com - это более 1 Терабайта бесплатной технической информации для всех пользователей интернета. Все электронные копии представленных здесь документов могут распространяться без каких-либо ограничений. Поощряется распространение информации с этого сайта на любых других ресурсах. Каждый человек имеет право на неограниченный доступ к этим документам! Каждый человек имеет право на знание требований, изложенных в данных нормативно-правовых актах!

  


 

ГОСТ 9323-79

Долбяки зуборезные чистовые. Технические условия

Обозначение:ГОСТ 9323-79
Текущий статус документа: действующий
Название документа рус.:Долбяки зуборезные чистовые. Технические условия
Название документа англ.:Finishing pinion type cutters. Technical conditions
Дата актуализации текста:01.12.2013
Дата издания:01.11.1987
Дата введения:01.01.1981
Дата последнего изменения:22.05.2013
Переиздание:переиздание с изм. 1
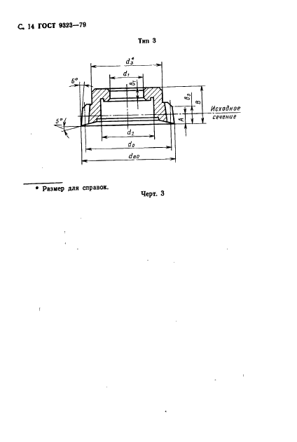
Область применения:Настоящий стандарт распространяется на зуборезные чистовые дисковые, чашечные и хвостовые долбяки, предназначенные для обработки зубьев прямозубных и косозубных цилиндрических зубчатых колес
Список изменений:№1 от 01.01.1983 (рег. 19.07.1982) «Срок действия продлен»
№2 от 01.07.1987 (рег. 19.12.1986) «Срок действия продлен»
ГОСТ 9323-79ГОСТ 9323-79ГОСТ 9323-79ГОСТ 9323-79ГОСТ 9323-79ГОСТ 9323-79ГОСТ 9323-79ГОСТ 9323-79ГОСТ 9323-79ГОСТ 9323-79ГОСТ 9323-79ГОСТ 9323-79ГОСТ 9323-79ГОСТ 9323-79ГОСТ 9323-79ГОСТ 9323-79ГОСТ 9323-79ГОСТ 9323-79ГОСТ 9323-79ГОСТ 9323-79ГОСТ 9323-79ГОСТ 9323-79ГОСТ 9323-79ГОСТ 9323-79ГОСТ 9323-79ГОСТ 9323-79ГОСТ 9323-79ГОСТ 9323-79ГОСТ 9323-79ГОСТ 9323-79ГОСТ 9323-79ГОСТ 9323-79ГОСТ 9323-79ГОСТ 9323-79ГОСТ 9323-79ГОСТ 9323-79ГОСТ 9323-79ГОСТ 9323-79ГОСТ 9323-79ГОСТ 9323-79ГОСТ 9323-79ГОСТ 9323-79ГОСТ 9323-79ГОСТ 9323-79ГОСТ 9323-79ГОСТ 9323-79ГОСТ 9323-79ГОСТ 9323-79ГОСТ 9323-79ГОСТ 9323-79ГОСТ 9323-79ГОСТ 9323-79ГОСТ 9323-79ГОСТ 9323-79ГОСТ 9323-79ГОСТ 9323-79ГОСТ 9323-79ГОСТ 9323-79ГОСТ 9323-79ГОСТ 9323-79ГОСТ 9323-79ГОСТ 9323-79ГОСТ 9323-79ГОСТ 9323-79ГОСТ 9323-79ГОСТ 9323-79ГОСТ 9323-79ГОСТ 9323-79ГОСТ 9323-79ГОСТ 9323-79ГОСТ 9323-79ГОСТ 9323-79
 




ГОСТЫ, СТРОИТЕЛЬНЫЕ и ТЕХНИЧЕСКИЕ НОРМАТИВЫ.
Некоммерческая онлайн система, содержащая все Российские Госты, национальные Стандарты и нормативы.
В Системе содержится более 150000 файлов нормативно-технической документации, действующей на территории РФ.
Система предназначена для широкого круга инженерно-технических специалистов.

Рейтинг@Mail.ru Яндекс цитирования

Copyright © www.gostrf.com, 2008 - 2026