Крупнейшая бесплатная информационно-справочная система онлайн доступа к полному собранию технических нормативно-правовых актов РФ. Огромная база технических нормативов (более 150 тысяч документов) и полное собрание национальных стандартов, аутентичное официальной базе Госстандарта. GOSTRF.com - это более 1 Терабайта бесплатной технической информации для всех пользователей интернета. Все электронные копии представленных здесь документов могут распространяться без каких-либо ограничений. Поощряется распространение информации с этого сайта на любых других ресурсах. Каждый человек имеет право на неограниченный доступ к этим документам! Каждый человек имеет право на знание требований, изложенных в данных нормативно-правовых актах!

  


 

ГОСТ 17368-79

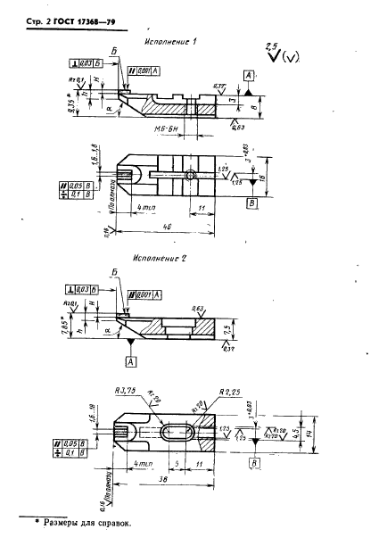
Резцы алмазные для профилирования червячных шлифовальных кругов. Технические условия

Обозначение:ГОСТ 17368-79
Текущий статус документа: действующий
Название документа рус.:Резцы алмазные для профилирования червячных шлифовальных кругов. Технические условия
Название документа англ.:Diamond tools for profile of abrasive hobbing wheels. Technical conditions
Дата актуализации текста:01.12.2013
Дата издания:01.12.1984
Дата введения:01.01.1980
Дата последнего изменения:22.05.2013
Переиздание:переиздание с изм. 1
Область применения:Настоящий стандарт распространяется на алмазные резцы для профилирования червячных шлифовальных кругов на зубошлифовальных станках. Стандарт устанавливает требования к продукции, изготовляемой для нужд народного хозяйства и для экспорта. Установленные настоящим стандартом показатели технического уровня предусмотрены для высшей категории качества
Список изменений:№1 от 01.11.1984 (рег. 29.05.1984) «Срок действия продлен»
№2 от 01.01.1990 (рег. 17.11.1988) «Срок действия продлен»
ГОСТ 17368-79ГОСТ 17368-79ГОСТ 17368-79ГОСТ 17368-79ГОСТ 17368-79ГОСТ 17368-79ГОСТ 17368-79ГОСТ 17368-79ГОСТ 17368-79ГОСТ 17368-79ГОСТ 17368-79
 




ГОСТЫ, СТРОИТЕЛЬНЫЕ и ТЕХНИЧЕСКИЕ НОРМАТИВЫ.
Некоммерческая онлайн система, содержащая все Российские Госты, национальные Стандарты и нормативы.
В Системе содержится более 150000 файлов нормативно-технической документации, действующей на территории РФ.
Система предназначена для широкого круга инженерно-технических специалистов.

Рейтинг@Mail.ru Яндекс цитирования

Copyright © www.gostrf.com, 2008 - 2026