Крупнейшая бесплатная информационно-справочная система онлайн доступа к полному собранию технических нормативно-правовых актов РФ. Огромная база технических нормативов (более 150 тысяч документов) и полное собрание национальных стандартов, аутентичное официальной базе Госстандарта. GOSTRF.com - это более 1 Терабайта бесплатной технической информации для всех пользователей интернета. Все электронные копии представленных здесь документов могут распространяться без каких-либо ограничений. Поощряется распространение информации с этого сайта на любых других ресурсах. Каждый человек имеет право на неограниченный доступ к этим документам! Каждый человек имеет право на знание требований, изложенных в данных нормативно-правовых актах!

  


 

ГОСТ 17041-77

Линейки чертежных приборов. Технические условия

Обозначение:ГОСТ 17041-77
Текущий статус документа: действующий
Название документа рус.:Линейки чертежных приборов. Технические условия
Название документа англ.:Rulers for drawing instruments. Specifications
Дата актуализации текста:01.12.2013
Дата издания:01.06.1988
Дата введения:01.01.1978
Дата последнего изменения:22.05.2013
Переиздание:переиздание с изм. 1
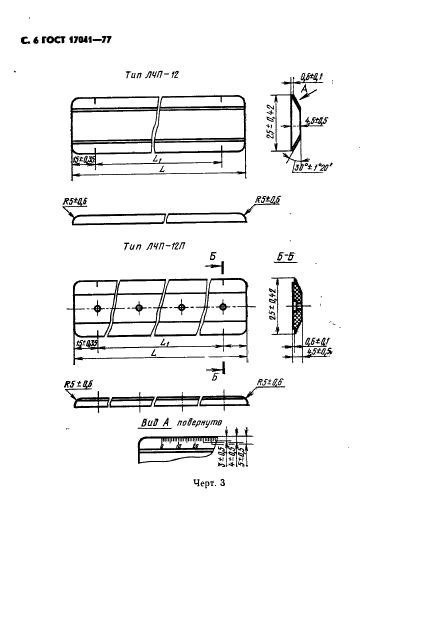
Область применения:Настоящий стандарт распространяется на линейки чертежных приборов, изготовленные из древесины и пластических масс и предназначенные для выполнения чертежно-графических работ
Список изменений:№1 от 01.06.1983 (рег. 29.12.1982) «Срок действия продлен»
№2 от 01.10.1986 (рег. 30.09.1986) «Срок действия продлен»
№3 от 01.01.1988 (рег. 03.06.1987) «Срок действия продлен»
№4 от 01.01.1989 (рег. 11.05.1988) «Срок действия продлен»
ГОСТ 17041-77ГОСТ 17041-77ГОСТ 17041-77ГОСТ 17041-77ГОСТ 17041-77ГОСТ 17041-77ГОСТ 17041-77ГОСТ 17041-77ГОСТ 17041-77ГОСТ 17041-77ГОСТ 17041-77ГОСТ 17041-77ГОСТ 17041-77ГОСТ 17041-77ГОСТ 17041-77
 




ГОСТЫ, СТРОИТЕЛЬНЫЕ и ТЕХНИЧЕСКИЕ НОРМАТИВЫ.
Некоммерческая онлайн система, содержащая все Российские Госты, национальные Стандарты и нормативы.
В Системе содержится более 150000 файлов нормативно-технической документации, действующей на территории РФ.
Система предназначена для широкого круга инженерно-технических специалистов.

Рейтинг@Mail.ru Яндекс цитирования

Copyright © www.gostrf.com, 2008 - 2026