Крупнейшая бесплатная информационно-справочная система онлайн доступа к полному собранию технических нормативно-правовых актов РФ. Огромная база технических нормативов (более 150 тысяч документов) и полное собрание национальных стандартов, аутентичное официальной базе Госстандарта. GOSTRF.com - это более 1 Терабайта бесплатной технической информации для всех пользователей интернета. Все электронные копии представленных здесь документов могут распространяться без каких-либо ограничений. Поощряется распространение информации с этого сайта на любых других ресурсах. Каждый человек имеет право на неограниченный доступ к этим документам! Каждый человек имеет право на знание требований, изложенных в данных нормативно-правовых актах!

  


 

ГОСТ 11056-77

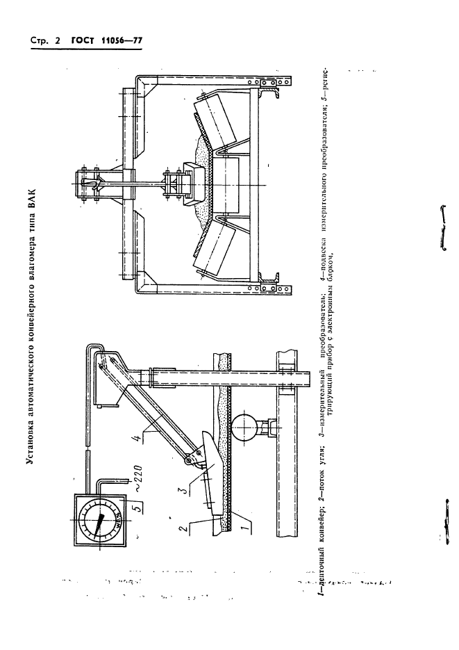
Угли каменные. Электрический метод определения массовой доли влаги

Обозначение:ГОСТ 11056-77
Текущий статус документа: действующий
Название документа рус.:Угли каменные. Электрический метод определения массовой доли влаги
Название документа англ.:Hard coals. Electric method for the determination of mass fraction of moisture
Дата актуализации текста:01.12.2013
Дата издания:09.06.1977
Дата введения:01.01.1979
Дата последнего изменения:22.05.2013
Область применения:Настоящий стандарт распространяется на каменные угли и устанавливает электрический метод определения массовой доли рабочей влаги в пределах от 3 до 30% в потоке угля крупностью не более 13 мм для предварительного и технологического контроля
Список изменений:№0 от 18.05.1988 (рег. 18.05.1988) «Срок действия продлен»
ГОСТ 11056-77ГОСТ 11056-77ГОСТ 11056-77ГОСТ 11056-77ГОСТ 11056-77ГОСТ 11056-77ГОСТ 11056-77
 




ГОСТЫ, СТРОИТЕЛЬНЫЕ и ТЕХНИЧЕСКИЕ НОРМАТИВЫ.
Некоммерческая онлайн система, содержащая все Российские Госты, национальные Стандарты и нормативы.
В Системе содержится более 150000 файлов нормативно-технической документации, действующей на территории РФ.
Система предназначена для широкого круга инженерно-технических специалистов.

Рейтинг@Mail.ru Яндекс цитирования

Copyright © www.gostrf.com, 2008 - 2026