Крупнейшая бесплатная информационно-справочная система онлайн доступа к полному собранию технических нормативно-правовых актов РФ. Огромная база технических нормативов (более 150 тысяч документов) и полное собрание национальных стандартов, аутентичное официальной базе Госстандарта. GOSTRF.com - это более 1 Терабайта бесплатной технической информации для всех пользователей интернета. Все электронные копии представленных здесь документов могут распространяться без каких-либо ограничений. Поощряется распространение информации с этого сайта на любых других ресурсах. Каждый человек имеет право на неограниченный доступ к этим документам! Каждый человек имеет право на знание требований, изложенных в данных нормативно-правовых актах!

  


 

ГОСТ 21584-76

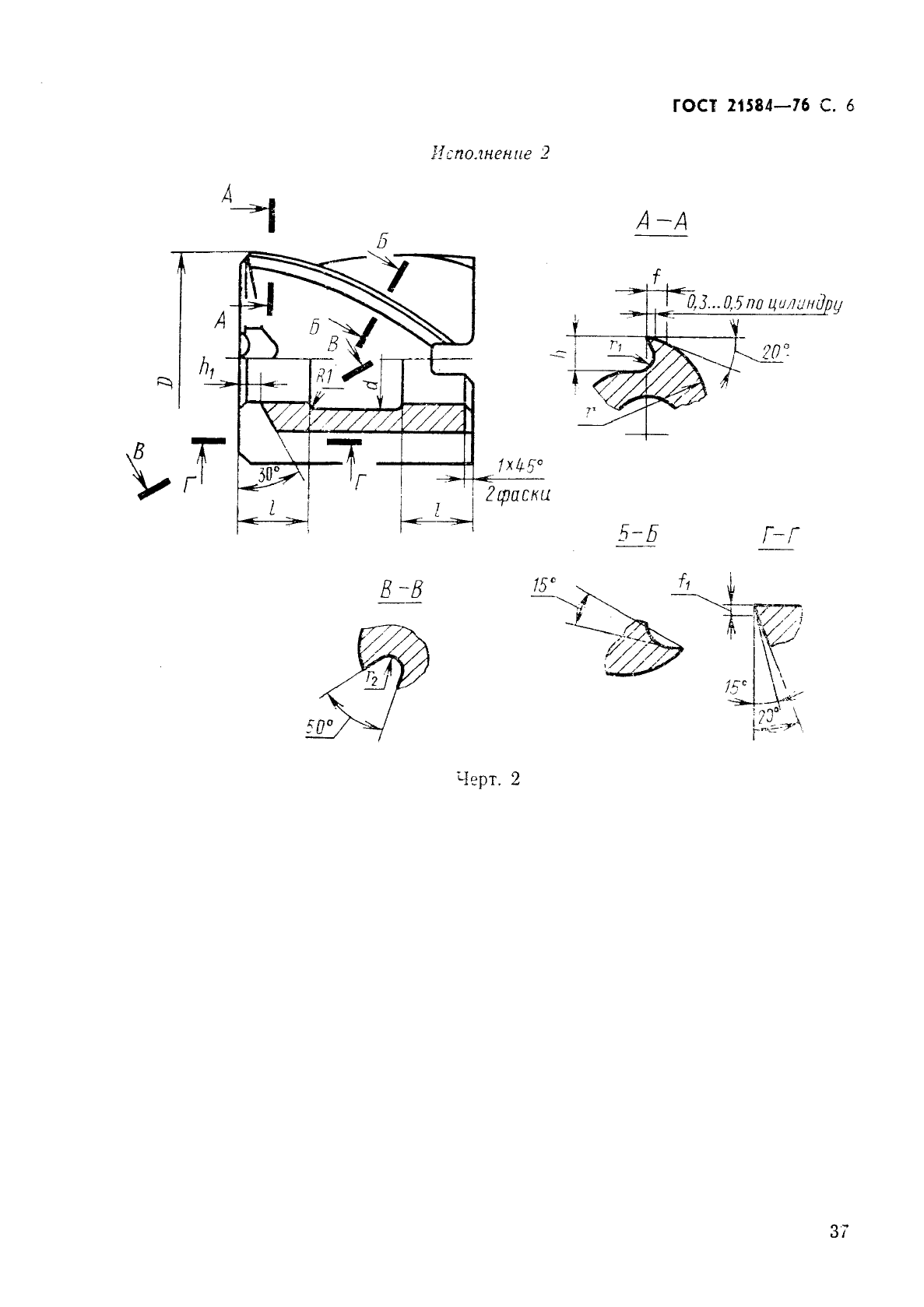
Зенкеры насадные для обработки деталей из легких сплавов. Конструкция и размеры

Обозначение:ГОСТ 21584-76
Текущий статус документа: действующий
Название документа рус.:Зенкеры насадные для обработки деталей из легких сплавов. Конструкция и размеры
Название документа англ.:Shell countersinks for machining parts from light alloys. Design and dimensions
Дата актуализации текста:01.12.2013
Дата издания:01.05.1990
Дата введения:01.01.1977
Дата последнего изменения:22.05.2013
Переиздание:переиздание
Взамен:МН 330-60 МН 331-60
Область применения:Настоящий стандарт распространяется на насадные цельные зенкеры, предназначенные для предварительной (зенкер № 1) и окончательной обработки отверстий по А4 (зенкер № 2) в деталях из легких сплавов
ГОСТ 21584-76ГОСТ 21584-76ГОСТ 21584-76ГОСТ 21584-76ГОСТ 21584-76ГОСТ 21584-76ГОСТ 21584-76ГОСТ 21584-76ГОСТ 21584-76ГОСТ 21584-76ГОСТ 21584-76ГОСТ 21584-76ГОСТ 21584-76
 




ГОСТЫ, СТРОИТЕЛЬНЫЕ и ТЕХНИЧЕСКИЕ НОРМАТИВЫ.
Некоммерческая онлайн система, содержащая все Российские Госты, национальные Стандарты и нормативы.
В Системе содержится более 150000 файлов нормативно-технической документации, действующей на территории РФ.
Система предназначена для широкого круга инженерно-технических специалистов.

Рейтинг@Mail.ru Яндекс цитирования

Copyright © www.gostrf.com, 2008 - 2026