Крупнейшая бесплатная информационно-справочная система онлайн доступа к полному собранию технических нормативно-правовых актов РФ. Огромная база технических нормативов (более 150 тысяч документов) и полное собрание национальных стандартов, аутентичное официальной базе Госстандарта. GOSTRF.com - это более 1 Терабайта бесплатной технической информации для всех пользователей интернета. Все электронные копии представленных здесь документов могут распространяться без каких-либо ограничений. Поощряется распространение информации с этого сайта на любых других ресурсах. Каждый человек имеет право на неограниченный доступ к этим документам! Каждый человек имеет право на знание требований, изложенных в данных нормативно-правовых актах!

  


 

ГОСТ 20839-75

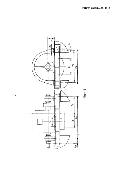
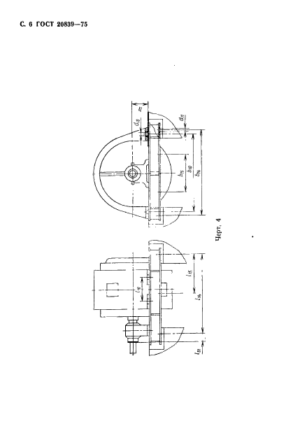
Машины электрические вращающиеся с высотой оси вращения от 450 до 1000 мм. Установочно-присоединительные размеры

Обозначение:ГОСТ 20839-75
Текущий статус документа: действующий
Название документа рус.:Машины электрические вращающиеся с высотой оси вращения от 450 до 1000 мм. Установочно-присоединительные размеры
Название документа англ.:Rotating electrical machinery with shaft height from 450 to 1000 mm. Mounting dimensions
Дата актуализации текста:01.12.2013
Дата издания:01.12.1987
Дата введения:30.06.1976
Дата последнего изменения:22.05.2013
Переиздание:переиздание с изм. 1
Область применения:Настоящий стандарт распространяется на вращающиеся электрические машины с высотой оси вращения от 450 до 1000 мм (в том числе условной высотой) по ГОСТ 13267-73 с фланцевым креплением, на лапах, на лапах и плите с одним или двумя стояковыми подшипниками.
Стандарт не распространяется на тяговые электрические машины
Список изменений:№1 от 01.10.1977 (рег. 29.07.1977) «Срок действия продлен»
№2 от 01.01.1988 (рег. 15.07.1987) «Срок действия продлен»
№3 от 01.01.1991 (рег. 24.04.1990) «Срок действия продлен»
ГОСТ 20839-75ГОСТ 20839-75ГОСТ 20839-75ГОСТ 20839-75ГОСТ 20839-75ГОСТ 20839-75ГОСТ 20839-75ГОСТ 20839-75ГОСТ 20839-75ГОСТ 20839-75ГОСТ 20839-75ГОСТ 20839-75ГОСТ 20839-75
 




ГОСТЫ, СТРОИТЕЛЬНЫЕ и ТЕХНИЧЕСКИЕ НОРМАТИВЫ.
Некоммерческая онлайн система, содержащая все Российские Госты, национальные Стандарты и нормативы.
В Системе содержится более 150000 файлов нормативно-технической документации, действующей на территории РФ.
Система предназначена для широкого круга инженерно-технических специалистов.

Рейтинг@Mail.ru Яндекс цитирования

Copyright © www.gostrf.com, 2008 - 2026