Крупнейшая бесплатная информационно-справочная система онлайн доступа к полному собранию технических нормативно-правовых актов РФ. Огромная база технических нормативов (более 150 тысяч документов) и полное собрание национальных стандартов, аутентичное официальной базе Госстандарта. GOSTRF.com - это более 1 Терабайта бесплатной технической информации для всех пользователей интернета. Все электронные копии представленных здесь документов могут распространяться без каких-либо ограничений. Поощряется распространение информации с этого сайта на любых других ресурсах. Каждый человек имеет право на неограниченный доступ к этим документам! Каждый человек имеет право на знание требований, изложенных в данных нормативно-правовых актах!

  


 

ГОСТ 19869-74

Фонограммы магнитные на 35-мм перфорированной ленте. Размеры и расположение дорожек записи и магнитных головок. Технические требования

Обозначение:ГОСТ 19869-74
Текущий статус документа: действующий
Название документа рус.:Фонограммы магнитные на 35-мм перфорированной ленте. Размеры и расположение дорожек записи и магнитных головок. Технические требования
Название документа англ.:Magnetic sound records on 35-mm perforated film. Dimensions and location of magnetic sound records and magnetic heads. Technical requirements
Дата актуализации текста:01.12.2013
Дата издания:01.01.1998
Дата введения:30.06.1975
Дата последнего изменения:22.05.2013
Переиздание:переиздание с изм. 1
Взамен:
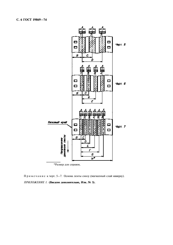
Область применения:Настоящий стандарт распространяется на одно-, трех-, четырех- и шестидорожечные магнитные фонограммы на 35-мм перфорированной ленте, записанные со скоростью
45,6 см/с и используемые в процессе производства кинофильмов, и устанавливает размеры, расположение и нумерацию дорожек записи, а также длину и расположение рабочих зазоров магнитных головок для записи, воспроизведения и стирания фонограмм, технические требования и методы испытаний
Список изменений:№1 от 01.01.1988 (рег. 26.06.1987) «Срок действия продлен»
№2 от 01.04.1990 (рег. 27.10.1989) «Срок действия продлен»
№3 от 01.07.1997 (рег. 03.06.1996) «Срок действия продлен»
ГОСТ 19869-74ГОСТ 19869-74ГОСТ 19869-74ГОСТ 19869-74ГОСТ 19869-74ГОСТ 19869-74ГОСТ 19869-74ГОСТ 19869-74ГОСТ 19869-74ГОСТ 19869-74
 




ГОСТЫ, СТРОИТЕЛЬНЫЕ и ТЕХНИЧЕСКИЕ НОРМАТИВЫ.
Некоммерческая онлайн система, содержащая все Российские Госты, национальные Стандарты и нормативы.
В Системе содержится более 150000 файлов нормативно-технической документации, действующей на территории РФ.
Система предназначена для широкого круга инженерно-технических специалистов.

Рейтинг@Mail.ru Яндекс цитирования

Copyright © www.gostrf.com, 2008 - 2026