Крупнейшая бесплатная информационно-справочная система онлайн доступа к полному собранию технических нормативно-правовых актов РФ. Огромная база технических нормативов (более 150 тысяч документов) и полное собрание национальных стандартов, аутентичное официальной базе Госстандарта. GOSTRF.com - это более 1 Терабайта бесплатной технической информации для всех пользователей интернета. Все электронные копии представленных здесь документов могут распространяться без каких-либо ограничений. Поощряется распространение информации с этого сайта на любых других ресурсах. Каждый человек имеет право на неограниченный доступ к этим документам! Каждый человек имеет право на знание требований, изложенных в данных нормативно-правовых актах!

  


 

ГОСТ 20099-74

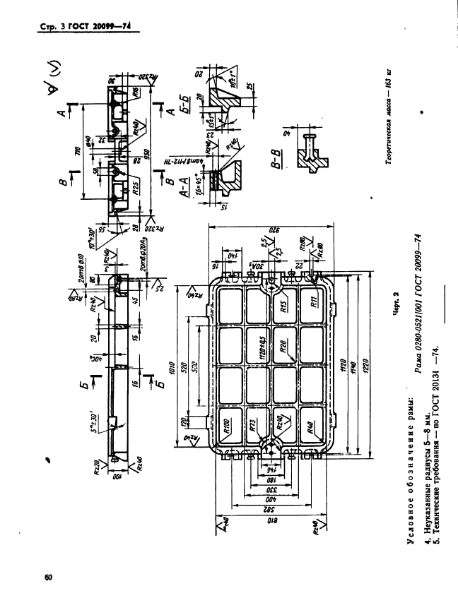
Плиты модельные чугунные со сменными металлическими вкладышами для опок размерами в свету 1000х800 мм на формовочные литейные машины с поворотом полуформы без допрессовки. Конструкция и размеры

Обозначение:ГОСТ 20099-74
Текущий статус документа: действующий
Название документа рус.:Плиты модельные чугунные со сменными металлическими вкладышами для опок размерами в свету 1000х800 мм на формовочные литейные машины с поворотом полуформы без допрессовки. Конструкция и размеры
Название документа англ.:Iron pattern plates with changeable metal inserts for moulding boxes having inside dimensions 1000x800 mm for moulding foundry machines with turn of half mould with squeezing. Design and dimensions
Дата актуализации текста:01.12.2013
Дата издания:22.10.1974
Дата введения:01.01.1976
Дата последнего изменения:22.05.2013
Взамен:МН 1314-60
Область применения:Настоящий стандарт устанавливает конструкцию и размеры модельных плит
Список изменений:№1 от 01.10.1981 (рег. 02.06.1981) «Срок действия продлен»
ГОСТ 20099-74ГОСТ 20099-74ГОСТ 20099-74ГОСТ 20099-74ГОСТ 20099-74
 




ГОСТЫ, СТРОИТЕЛЬНЫЕ и ТЕХНИЧЕСКИЕ НОРМАТИВЫ.
Некоммерческая онлайн система, содержащая все Российские Госты, национальные Стандарты и нормативы.
В Системе содержится более 150000 файлов нормативно-технической документации, действующей на территории РФ.
Система предназначена для широкого круга инженерно-технических специалистов.

Рейтинг@Mail.ru Яндекс цитирования

Copyright © www.gostrf.com, 2008 - 2026