Крупнейшая бесплатная информационно-справочная система онлайн доступа к полному собранию технических нормативно-правовых актов РФ. Огромная база технических нормативов (более 150 тысяч документов) и полное собрание национальных стандартов, аутентичное официальной базе Госстандарта. GOSTRF.com - это более 1 Терабайта бесплатной технической информации для всех пользователей интернета. Все электронные копии представленных здесь документов могут распространяться без каких-либо ограничений. Поощряется распространение информации с этого сайта на любых других ресурсах. Каждый человек имеет право на неограниченный доступ к этим документам! Каждый человек имеет право на знание требований, изложенных в данных нормативно-правовых актах!

  


 

ГОСТ 18893-73

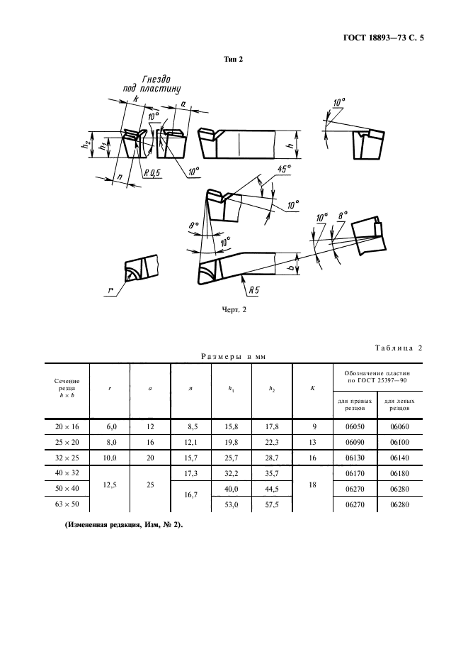
Резцы строгальные подрезные с пластинами из твердого сплава. Конструкция и размеры

Обозначение:ГОСТ 18893-73
Текущий статус документа: действующий
Название документа рус.:Резцы строгальные подрезные с пластинами из твердого сплава. Конструкция и размеры
Название документа англ.:Carbid tipped undercutting planing tools. Design and dimensions
Дата актуализации текста:01.12.2013
Дата издания:01.03.2000
Дата введения:30.06.1974
Дата последнего изменения:22.05.2013
Переиздание:переиздание с изм. 1
Взамен:МН 630-64 МН 631-64
Взамен в части: в части типов IV, V
Область применения:Настоящий стандарт распространяется на подрезные строгальные резцы с пластинами из твердого сплава
Список изменений:№1 от 01.07.1981 (рег. 20.03.1981) «Срок действия продлен»
№2 от 01.08.1985 (рег. 07.02.1985) «Срок действия продлен»
ГОСТ 18893-73ГОСТ 18893-73ГОСТ 18893-73ГОСТ 18893-73ГОСТ 18893-73ГОСТ 18893-73ГОСТ 18893-73
 




ГОСТЫ, СТРОИТЕЛЬНЫЕ и ТЕХНИЧЕСКИЕ НОРМАТИВЫ.
Некоммерческая онлайн система, содержащая все Российские Госты, национальные Стандарты и нормативы.
В Системе содержится более 150000 файлов нормативно-технической документации, действующей на территории РФ.
Система предназначена для широкого круга инженерно-технических специалистов.

Рейтинг@Mail.ru Яндекс цитирования

Copyright © www.gostrf.com, 2008 - 2026