Крупнейшая бесплатная информационно-справочная система онлайн доступа к полному собранию технических нормативно-правовых актов РФ. Огромная база технических нормативов (более 150 тысяч документов) и полное собрание национальных стандартов, аутентичное официальной базе Госстандарта. GOSTRF.com - это более 1 Терабайта бесплатной технической информации для всех пользователей интернета. Все электронные копии представленных здесь документов могут распространяться без каких-либо ограничений. Поощряется распространение информации с этого сайта на любых других ресурсах. Каждый человек имеет право на неограниченный доступ к этим документам! Каждый человек имеет право на знание требований, изложенных в данных нормативно-правовых актах!

  


 

ГОСТ 18981-73

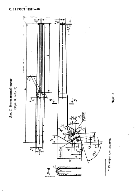
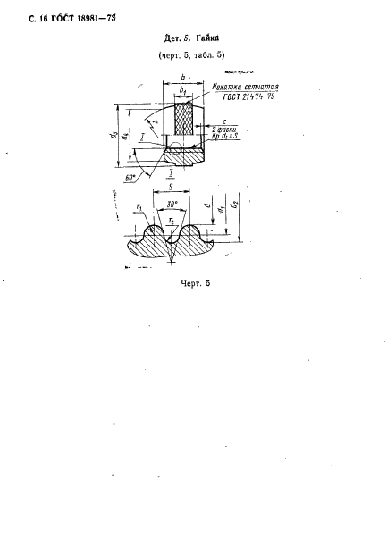
Ключи трубные рычажные. Технические условия

Обозначение:ГОСТ 18981-73
Текущий статус документа: действующий
Название документа рус.:Ключи трубные рычажные. Технические условия
Название документа англ.:Pipe toggle wrenches. Specifications
Дата актуализации текста:01.12.2013
Дата издания:01.11.1993
Дата введения:01.01.1975
Дата последнего изменения:22.05.2013
Переиздание:переиздание с изм. 1
Взамен:ОСТ НКТМ 6813-39
Область применения:Настоящий стандарт распространяется на трубные рычажные ключи, предназначенные для захватывания и вращения труб и соединительных частей трубопроводов, изготовляемые для нужд народного хозяйства и экспорта.
Стандарт не распространяется на ключи, изготовляемые из материалов, применяемых для работы во взрывоопасных условиях
Список изменений:№1 от 01.06.1977 (рег. 12.05.1977) «Срок действия продлен»
№2 от 01.01.1981 (рег. 21.11.1980) «Срок действия продлен»
№3 от 01.04.1984 (рег. 10.10.1983) «Срок действия продлен»
№4 от 01.09.1990 (рег. 29.11.1989) «Срок действия продлен»
ГОСТ 18981-73ГОСТ 18981-73ГОСТ 18981-73ГОСТ 18981-73ГОСТ 18981-73ГОСТ 18981-73ГОСТ 18981-73ГОСТ 18981-73ГОСТ 18981-73ГОСТ 18981-73ГОСТ 18981-73ГОСТ 18981-73ГОСТ 18981-73ГОСТ 18981-73ГОСТ 18981-73ГОСТ 18981-73ГОСТ 18981-73ГОСТ 18981-73ГОСТ 18981-73
 




ГОСТЫ, СТРОИТЕЛЬНЫЕ и ТЕХНИЧЕСКИЕ НОРМАТИВЫ.
Некоммерческая онлайн система, содержащая все Российские Госты, национальные Стандарты и нормативы.
В Системе содержится более 150000 файлов нормативно-технической документации, действующей на территории РФ.
Система предназначена для широкого круга инженерно-технических специалистов.

Рейтинг@Mail.ru Яндекс цитирования

Copyright © www.gostrf.com, 2008 - 2026