Крупнейшая бесплатная информационно-справочная система онлайн доступа к полному собранию технических нормативно-правовых актов РФ. Огромная база технических нормативов (более 150 тысяч документов) и полное собрание национальных стандартов, аутентичное официальной базе Госстандарта. GOSTRF.com - это более 1 Терабайта бесплатной технической информации для всех пользователей интернета. Все электронные копии представленных здесь документов могут распространяться без каких-либо ограничений. Поощряется распространение информации с этого сайта на любых других ресурсах. Каждый человек имеет право на неограниченный доступ к этим документам! Каждый человек имеет право на знание требований, изложенных в данных нормативно-правовых актах!

  


 

ГОСТ 5.1861-73

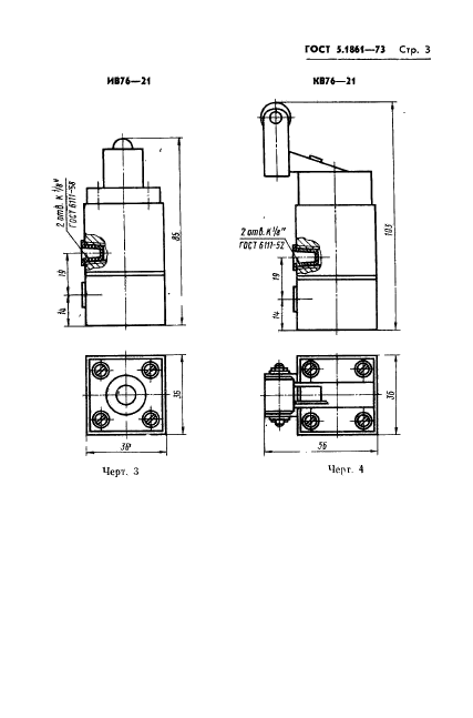
Пневмораспределители трехлинейные В76-21, БВ76-21, ИВ76-21, КВ76-21, МВ76-21, ОВ76-21, ГВ76-21, ДВ76-21. Требования к качеству аттестованной продукции

Обозначение:ГОСТ 5.1861-73
Текущий статус документа: действующий
Название документа рус.:Пневмораспределители трехлинейные В76-21, БВ76-21, ИВ76-21, КВ76-21, МВ76-21, ОВ76-21, ГВ76-21, ДВ76-21. Требования к качеству аттестованной продукции
Название документа англ.:Pneumatic directional control valves with 3 ports В76-21, БВ76-21, ИВ76-21, КВ76-21, МВ76-21, ОВ76-21, ГВ76-21, ДВ76-21. Quality requirements of certified products
Дата актуализации текста:01.12.2013
Дата издания:23.04.1973
Дата введения:01.03.1973
Дата последнего изменения:25.11.2013
Область применения:Настоящий стандарт распространяется на трехлинейные пневмораспределители В76-21, БВ76-21, ИВ76-21, КВ76-21, МВ76-21, ОВ76-21, ГВ76-21, ДВ76-21 на номинальное давление 10 кгс/см.кв. (1МПа) с условным проходом 4 мм, предназначенные для изменения направления потоков сжатого воздуха в пневматических системах, работающих в окружающей среде с относительной влажностью 80% и температурой от 5 до 50 град.С
ГОСТ 5.1861-73ГОСТ 5.1861-73ГОСТ 5.1861-73ГОСТ 5.1861-73ГОСТ 5.1861-73ГОСТ 5.1861-73ГОСТ 5.1861-73ГОСТ 5.1861-73ГОСТ 5.1861-73ГОСТ 5.1861-73ГОСТ 5.1861-73ГОСТ 5.1861-73ГОСТ 5.1861-73ГОСТ 5.1861-73ГОСТ 5.1861-73ГОСТ 5.1861-73ГОСТ 5.1861-73
 




ГОСТЫ, СТРОИТЕЛЬНЫЕ и ТЕХНИЧЕСКИЕ НОРМАТИВЫ.
Некоммерческая онлайн система, содержащая все Российские Госты, национальные Стандарты и нормативы.
В Системе содержится более 150000 файлов нормативно-технической документации, действующей на территории РФ.
Система предназначена для широкого круга инженерно-технических специалистов.

Рейтинг@Mail.ru Яндекс цитирования

Copyright © www.gostrf.com, 2008 - 2026