Крупнейшая бесплатная информационно-справочная система онлайн доступа к полному собранию технических нормативно-правовых актов РФ. Огромная база технических нормативов (более 150 тысяч документов) и полное собрание национальных стандартов, аутентичное официальной базе Госстандарта. GOSTRF.com - это более 1 Терабайта бесплатной технической информации для всех пользователей интернета. Все электронные копии представленных здесь документов могут распространяться без каких-либо ограничений. Поощряется распространение информации с этого сайта на любых других ресурсах. Каждый человек имеет право на неограниченный доступ к этим документам! Каждый человек имеет право на знание требований, изложенных в данных нормативно-правовых актах!

  


 

ГОСТ 17270-71

Рамки ножовочные ручные. Технические условия

Обозначение:ГОСТ 17270-71
Текущий статус документа: действующий
Название документа рус.:Рамки ножовочные ручные. Технические условия
Название документа англ.:Frames for hand hack-saws. Specifications
Дата актуализации текста:01.12.2013
Дата издания:01.05.1986
Дата введения:01.01.1973
Дата последнего изменения:22.05.2013
Переиздание:переиздание с изм. 1
Взамен:МН 524-60
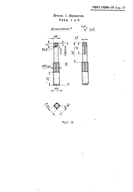
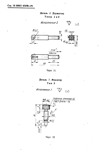
Область применения:Настоящий стандарт распространяется на ручные ножовочные рамки с защитно-декоративным покрытием, преназначенные для крепления ножовочного полотна по ГОСТ 6645, изготовляемые для нужд народного хозяйства и для экспорта
Список изменений:№1 от 01.09.1975 (рег. 18.07.1975) «Срок действия продлен»
№2 от 01.11.1979 (рег. 11.09.1979) «Срок действия продлен»
№3 от 01.03.1986 (рег. 24.09.1985) «Срок действия продлен»
№4 от 01.11.1990 (рег. 26.02.1990) «Срок действия продлен»
ГОСТ 17270-71ГОСТ 17270-71ГОСТ 17270-71ГОСТ 17270-71ГОСТ 17270-71ГОСТ 17270-71ГОСТ 17270-71ГОСТ 17270-71ГОСТ 17270-71ГОСТ 17270-71ГОСТ 17270-71ГОСТ 17270-71ГОСТ 17270-71ГОСТ 17270-71ГОСТ 17270-71ГОСТ 17270-71ГОСТ 17270-71ГОСТ 17270-71ГОСТ 17270-71ГОСТ 17270-71ГОСТ 17270-71ГОСТ 17270-71ГОСТ 17270-71ГОСТ 17270-71ГОСТ 17270-71ГОСТ 17270-71ГОСТ 17270-71ГОСТ 17270-71ГОСТ 17270-71
 




ГОСТЫ, СТРОИТЕЛЬНЫЕ и ТЕХНИЧЕСКИЕ НОРМАТИВЫ.
Некоммерческая онлайн система, содержащая все Российские Госты, национальные Стандарты и нормативы.
В Системе содержится более 150000 файлов нормативно-технической документации, действующей на территории РФ.
Система предназначена для широкого круга инженерно-технических специалистов.

Рейтинг@Mail.ru Яндекс цитирования

Copyright © www.gostrf.com, 2008 - 2026