Крупнейшая бесплатная информационно-справочная система онлайн доступа к полному собранию технических нормативно-правовых актов РФ. Огромная база технических нормативов (более 150 тысяч документов) и полное собрание национальных стандартов, аутентичное официальной базе Госстандарта. GOSTRF.com - это более 1 Терабайта бесплатной технической информации для всех пользователей интернета. Все электронные копии представленных здесь документов могут распространяться без каких-либо ограничений. Поощряется распространение информации с этого сайта на любых других ресурсах. Каждый человек имеет право на неограниченный доступ к этим документам! Каждый человек имеет право на знание требований, изложенных в данных нормативно-правовых актах!

  


 

ГОСТ 6433.3-71

Материалы электроизоляционные твердые. Методы определения электрической прочности при переменном (частоты 50 Гц) и постоянном напряжении

Обозначение:ГОСТ 6433.3-71
Текущий статус документа: действующий
Название документа рус.:Материалы электроизоляционные твердые. Методы определения электрической прочности при переменном (частоты 50 Гц) и постоянном напряжении
Название документа англ.:Solid electrical insulating materials. Methods for evaluation of electrical strength at a. c. voltage at power (50 Hz) frequency and d. c. voltage
Дата актуализации текста:01.12.2013
Дата издания:01.03.1994
Дата введения:30.06.1972
Дата последнего изменения:22.05.2013
Переиздание:переиздание с изм. 1
Взамен в части: в части определения электрической прочности
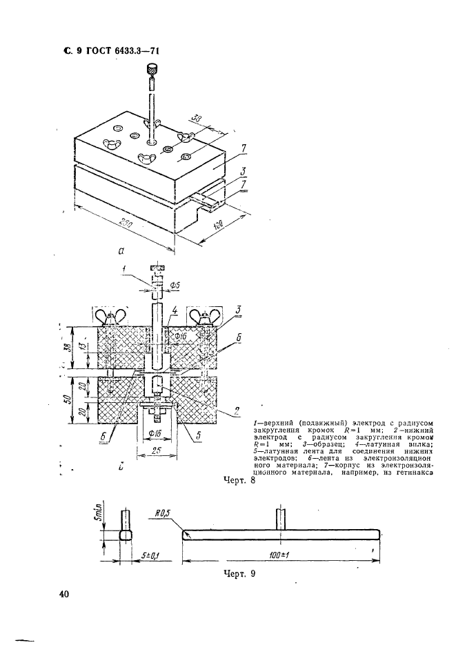
Область применения:Настоящий стандарт распространяется на твердые электроизоляционные материалы, включая пленки из высокомолекулярных соединений и электроизоляционные бумаги, и устанавливает для этих материалов методы определения электрической прочности (Епр) при переменном (частоты 50 Гц) и постоянном напряжении. Методы, приведенные в настоящем стандарте, применимы в диапазоне температур от минус 60 до плюс 250 град.С
Список изменений:№0 от 28.05.1987 (рег. 28.05.1987) «Срок действия продлен»
№1 от 01.01.1983 (рег. 16.02.1982) «Срок действия продлен»
ГОСТ 6433.3-71ГОСТ 6433.3-71ГОСТ 6433.3-71ГОСТ 6433.3-71ГОСТ 6433.3-71ГОСТ 6433.3-71ГОСТ 6433.3-71ГОСТ 6433.3-71ГОСТ 6433.3-71ГОСТ 6433.3-71ГОСТ 6433.3-71ГОСТ 6433.3-71ГОСТ 6433.3-71ГОСТ 6433.3-71ГОСТ 6433.3-71ГОСТ 6433.3-71ГОСТ 6433.3-71ГОСТ 6433.3-71ГОСТ 6433.3-71ГОСТ 6433.3-71ГОСТ 6433.3-71
 




ГОСТЫ, СТРОИТЕЛЬНЫЕ и ТЕХНИЧЕСКИЕ НОРМАТИВЫ.
Некоммерческая онлайн система, содержащая все Российские Госты, национальные Стандарты и нормативы.
В Системе содержится более 150000 файлов нормативно-технической документации, действующей на территории РФ.
Система предназначена для широкого круга инженерно-технических специалистов.

Рейтинг@Mail.ru Яндекс цитирования

Copyright © www.gostrf.com, 2008 - 2026